00352 – 27 28 15 38 | mycon@mycon.lu
3 LES EFFETS DE L’AMIANTE SUR LA SANTÉ
4 LES MATÉRIAUX CONTENANT DE L’AMIANTE
4.1 Introduction
4.2 Ce qui doit être fait
5 ÉVALUATION DES RISQUES ET PLAN DE TRAVAIL AVANT D’EFFECTUER LE TRAVAIL
5.1 Introduction
5.2 Ce qu’il faut faire
5.3 Modèle de liste de contrôle du plan de travail
6.1 Décisions nécessaires
6.2 Guide des décisions concernant les matériaux contenant de l’amiante dans les bâtiments
6.3 Décisions concernant l’obligation de déclarer le travail
7.1 Introduction
7.2 Contenu de la formation
7.3 Programme de formation – votre tâche
7.4 Informations
8.1 Équipement requis
8.2 Entretien des équipements
8.3 Votre mission
9 PRINCIPES GÉNÉRAUX POUR MINIMISER L’EXPOSITION
9.1 Considérations d’ordre général
9.2 Votre mission
10 DES TRAVAUX POUVANT IMPLIQUER UNE EXPOSITION À L’AMIANTE
11 TRAVAUX À FAIBLE RISQUE AVEC L’AMIANTE
11.1 Définition du travail à faible risque
11.2 Procédures générales pour les travaux à faible risque
11.3 Exemples de travaux à faible risque
12 TRAVAUX NOTIFIABLES AVEC DE L’AMIANTE
12.1 Introduction
12.2 Procédures générales pour les travaux à notifier
12.3 Enceinte pour l’exécution de travaux de désamiantage
12.4 Décontamination des personnes
12.5 Techniques de suppression des poussières
12.6 Encapsulation et logement
12.7 Inspection, surveillance et entretien de l’enceinte
12.8 L’élimination des déchets
12.9 Nettoyage et achèvement des travaux
14 L’EMPLOYÉ ET L’ENVIRONNEMENT DE TRAVAIL
14.1 Introduction
14.2 L’employé
14.3 La nature du travail
14.4 L’environnement de travail
15.1 Introduction
15.2 Problèmes
15.3 Enregistrement du transport
15.4 Les devoirs de l’employé
16.1 Introduction
16.2 Échantillonnage de l’air intérieur et méthodes d’analyse des échantillons
16.3 Objectifs de la surveillance de l’air
16.4 Sélection d’une organisation de suivi
16.5 Ce qui doit être fait
16.6 Information
17 AUTRES PERSONNES IMPLIQUÉES
17.1 Qui d’autre est impliqué ?
17.2 Participation à la planification des travaux relatifs à l’amiante
17.3 Matériaux contenant de l’amiante conservés
17.4 Références
17.5 Was sie tun sollten
18 L’AMIANTE DANS D’AUTRES LIEUX (VÉHICULES, MACHINES, ETC.)
18.1 Introduction
18.2 Une variété d’applications
18.3 Procédures pour éviter l’exposition à l’amiante
18.4 Problèmes dans les cas particuliers
La Conférence européenne sur les risques liés à l’amiante, qui s’est tenue à Dresde en 2003 et à laquelle ont participé des représentants de nombreux pays européens, de la Commission européenne et de l’OIT, a attiré l’attention sur le fait que l’amiante reste la substance toxique cancérigène la plus importante sur le lieu de travail dans la plupart des pays. Avec une estimation de 20 000 décès dus au cancer du poumon et 10 000 cas de mésothéliome par an dans les pays industrialisés d’Europe occidentale, d’Amérique du Nord et du Japon, il est clair que l’exposition à l’amiante reste un problème de santé majeur qui doit être remis à l’ordre du jour et bénéficier d’une priorité absolue dans nos activités de prévention. L’amiante reste au cœur de toutes les mesures visant à préserver la santé des travailleurs.
Conformément à la législation européenne, la commercialisation et l’utilisation de produits ou de substances contenant de l’amiante ont été interdites à partir de janvier 2005 (directive 1999/77/CE). Des mesures encore plus strictes pour protéger les travailleurs contre le risque d’exposition aux fibres d’amiante sont en vigueur depuis le 15 avril 2006 (directive 2003/18/CE, qui complète la directive 83/477/CEE). Cependant, malgré ce cadre juridique, dans la pratique, le problème de la prévention de l’exposition à l’amiante lors des activités de retrait, de démolition, de maintenance ou d’entretien reste entier. En outre, à l’heure des liens économiques étroits et de la mondialisation, nous devons veiller à ne pas contrecarrer nos efforts en réimportant des matériaux contenant de l’amiante.
Conformément aux recommandations de la Déclaration de Dresde, le Comité des hauts responsables de l’inspection du travail (CHRIT) a constitué un groupe de travail chargé d’élaborer des guides de bonnes pratiques pour les activités comportant un risque d’exposition à l’amiante et de mener une campagne européenne en 2006 pour contrôler la mise en œuvre des directives pertinentes.
Le « Guide des meilleures pratiques
aide à identifier et à sensibiliser à la présence d’amiante et de produits d’amiante dans l’utilisation, l’entretien et la réparation des installations, des équipements et des bâtiments
décrit les meilleures pratiques pour l’élimination de l’amiante (y compris la suppression des poussières, le confinement des poussières et l’équipement de protection) et pour la manipulation des produits et des déchets d’amiante-ciment.
soutient une approche de l’équipement et des vêtements de protection qui tient compte des facteurs humains et des différences individuelles
Il sera mis à la disposition des employeurs et des travailleurs.
La campagne d’inspection du travail sera menée au cours du second semestre 2006 dans tous les États membres de l’Union européenne afin de protéger la santé des travailleurs dans tous les travaux impliquant l’entretien, la démolition, le retrait ou l’élimination de matériaux contenant de l’amiante. Les inspections seront effectuées par les inspections nationales du travail (et les autorités sanitaires si elles sont compétentes). L’objectif de la campagne est de soutenir la mise en œuvre de la directive 2003/18/CE (qui complète la directive 83/477/CEE), qui devrait être mise en œuvre par tous les États membres de l’Union européenne au plus tard le 15 avril 2006. La campagne d’inspection est précédée d’activités d’information et d’éducation.
Pour nos partenaires hors d’Europe, les inspections du travail des États membres de l’UE offrent leur soutien. Les supports de formation existants du CHRIT, les supports de la campagne 2006 et les guides de bonnes pratiques peuvent être utilisés dans tout autre pays désireux de s’attaquer aux risques sanitaires liés à l’amiante et à son utilisation. Pour cela, la Convention 162 de l’OIT peut servir de norme minimale. Cette convention et les exemples de meilleures pratiques représentent le niveau minimum en dessous duquel la communauté internationale ne doit pas descendre.
Cher lecteur,
Ce « guide pratique des meilleures pratiques en matière de prévention ou de réduction des risques liés à l’amiante dans les travaux impliquant (ou susceptibles d’impliquer) de l’amiante » est le résultat d’une collaboration conjointe entre le Comité des hauts responsables de l’inspection du travail (CHRIT) et les représentants des employeurs et des travailleurs au sein du Comité consultatif pour la sécurité et la santé du Comité de l’UE et représente un pas supplémentaire vers l’abandon de l’amiante sur les lieux de travail européens. Nous espérons que vous lirez ce guide et que vous le garderez à portée de main.
Les principaux groupes cibles sont les employeurs, les travailleurs et les inspecteurs du travail.
Le guide est complété par un site web dédié de l’Agence européenne pour la sécurité et la santé au travail où vous trouverez des informations supplémentaires et des liens spécifiques vers des sites web nationaux relatifs à la santé et à la sécurité concernant le risque d’exposition à l’amiante.
Outre son utilisation dans le cadre de la campagne d’inspection de l’amiante de 2006, le guide vise à fournir une base européenne commune de bonnes pratiques pour toutes les personnes impliquées dans l’exposition à l’amiante liée au travail.
l’exposition à l’amiante, le guide vise à fournir une base européenne commune pour les meilleures pratiques.
| Dr Bernhard Brückner Directeur adjoint Département de la santé et de la sécurité Lieu de travail Ministère des affaires sociales de la Hesse Allemagne | M. Jose-Ramon Biosca de Sagastuy Chef d’institution Chef d’institution DG Travail, affaires sociales et égalité des chances Santé, sécurité et hygiène au travail Luxembourg |
Ce guide a été élaboré par le Comité des hauts responsables de l’inspection du travail (CHRIT) en collaboration avec le Comité consultatif pour la sécurité et la santé (CCSS) des partenaires sociaux (représentants des syndicats et des employeurs) dans le but de fournir aux inspecteurs du travail, aux employeurs et aux travailleurs de toute l’Europe une source d’information commune accessible à tous. Élaboré pour soutenir la campagne 2006 sur l’amiante, ce guide devrait continuer à être utile par la suite. Il doit donc évoluer avec les progrès futurs des meilleures pratiques.
La portée de ce guide est ambitieuse dans la mesure où les informations sont présentées sur trois scénarios :
C’est pourquoi le guide comprend plusieurs chapitres relatifs aux trois scénarios, ainsi que des chapitres spécifiquement consacrés à chaque scénario.
Travailler avec de l’amiante peut impliquer de travailler à des hauteurs élevées, à des températures élevées et avec des équipements de protection encombrants et contraignants. Comme ce guide se concentre sur la prévention des risques sanitaires dus à l’amiante, il convient de noter que d’autres risques (par exemple, les chutes de hauteur, peut-être dues à un toit en amiante-ciment friable) ne doivent pas être ignorés.
En ce qui concerne les règles et pratiques techniques visant à contrôler et à minimiser les risques liés à l’exposition à l’amiante, on constate des différences d’approche marquées entre les États membres. En général, chaque approche présente certains avantages et inconvénients. Ce guide fournit des explications et des clarifications sur les différentes méthodes qui pourraient être considérées comme des « meilleures pratiques » pour une approche et une situation particulières.
Pour sélectionner les méthodes à inclure dans le guide, les critères suivants ont été utilisés :
Lors de la préparation du guide, nous avons veillé à le rendre aussi concis et lisible que possible et à éviter les répétitions. C’est pourquoi il existe quelques références croisées entre différentes sections, par exemple pour n’expliquer qu’une seule fois les considérations relatives au choix et à l’utilisation des vêtements de protection.
Dans un guide concis couvrant un large éventail de travaux pratiques, il peut arriver que des détails soient omis. Ces omissions ne doivent donc pas être interprétées comme une exclusion délibérée d’autres mesures.
La directive 2003/18/CE (Protection des travailleurs contre les risques liés à une exposition à l’amiante pendant le travail), qui complète la directive 83/477/CEE, a été mise en œuvre dans les États membres par des législations nationales dont les détails pratiques peuvent varier. Ce guide est intentionnellement présenté comme non obligatoire afin de pouvoir offrir les meilleurs conseils pratiques sans préciser si la meilleure pratique est une exigence obligatoire en vertu de la législation nationale des États membres de l’UE. L’annexe 1 fournit une liste de la législation nationale pertinente soumise par chaque État membre.
Ce guide étant axé sur la prévention des risques liés à l’exposition à l’amiante, il ne prétend pas couvrir les exigences de la directive 92/57/CEE sur la santé et la sécurité sur les chantiers temporaires ou mobiles. Par exemple, en plus des installations sanitaires pour la décontamination des personnes, il faut prévoir des salles de détente adéquates, comme pour tous les travaux sur des chantiers temporaires ou mobiles. Lorsqu’un plan de santé et de sécurité est requis en vertu de la directive sur la santé et la sécurité pour les chantiers temporaires ou mobiles, il doit inclure des conditions de travail sûres et sécurisées.
les procédures de travail avec l’amiante et la documentation sur l’amiante présent sur le site (par exemple, le certificat d’élimination).
Ce guide contient des conseils destinés spécifiquement à l’employeur, à l’employé et à l’inspecteur du travail. Toutefois, les lecteurs sont susceptibles de trouver les conseils destinés aux autres instructifs également. Un chapitre a également été inclus spécifiquement destiné à d’autres groupes de personnes impliquées dans les travaux relatifs à l’amiante, par exemple, les clients qui passent un contrat pour le désamiantage, ou les personnes qui occupent un bâtiment après le désamiantage, ou les conseillers en matière de santé et de sécurité.
Le guide vise à donner des conseils pratiques sur le retrait et la réduction de l’exposition à la poussière d’amiante. Il se concentre sur les bonnes et meilleures pratiques pour réduire l’exposition à l’amiante.
L’amiante est la forme fibreuse de plusieurs minéraux présents dans la nature. Les principales formes sont :
Les trois premières formes étaient les principales formes d’amiante utilisées dans le commerce. Bien qu’ils soient connus par leur couleur, ils ne peuvent pas être identifiés de manière fiable par leur seule couleur. Une analyse de laboratoire est nécessaire à cet effet.
L’amiante peut être présent dans une série de produits (voir chapitre 4). Si les fibres peuvent être libérées, il existe un danger d’inhalation des fibres d’amiante dans l’air que nous respirons. Les fibres microscopiques peuvent se déposer dans les poumons, y rester pendant de nombreuses années et provoquer une maladie des années plus tard, généralement plusieurs décennies.
La faible fixation des fibres d’amiante dans le produit ou le matériau en raison de la fragilité ou de l’état du produit/matériau augmente le risque de libération des fibres. Cependant, si les fibres sont fermement liées à un matériau qui n’est pas cassant, la libération des fibres est moins probable. Des règles de procédure ont été introduites dans plusieurs États membres de l’UE qui donnent la priorité à l’élimination des matériaux contenant de l’amiante qui sont considérés comme plus dangereux.
Toutes les formes d’amiante ont été classées comme cancérigènes de classe 1, ce qui signifie qu’elles provoquent le cancer chez l’homme. La directive européenne 2003/18/CE (Protection des travailleurs contre les risques liés à une exposition à l’amiante pendant le travail), qui complète la directive 83/477/CEE, exige que l’exposition des travailleurs à tous les types d’amiante ne dépasse pas 0,1 fibre/ml. L’exposition à tous les types d’amiante doit être réduite au minimum et doit en tout cas être inférieure à la valeur limite.
Certains États membres exigent que le type d’amiante soit pris en compte pour décider de la priorité d’un danger. Par exemple, les preuves épidémiologiques indiquent que pour une concentration donnée de fibres (mesurée selon la méthode standard pour les lieux de travail), la crocidolite est plus dangereuse que l’amosite, qui à son tour est plus dangereuse que le chrysotile. Toutefois, cela ne change rien à la nécessité pratique d’appliquer les meilleures pratiques pour éviter l’exposition à l’amiante.
Ce guide présente des conseils pratiques sur la manière d’éviter ou de minimiser l’exposition à l’amiante.
La consommation annuelle d’amiante en Europe a considérablement évolué au cours du 20e siècle, comme le montre la figure 2.1. Les données (pour la consommation dans plus de 27 pays européens selon Virta (2003)) montrent clairement que la consommation a fortement augmenté de 1950 à 1980 environ, puis a diminué lorsque certains États membres ont introduit des restrictions sur l’utilisation de l’amiante ou l’ont complètement interdite. Les interdictions introduites par les directives européennes dans les années 1990 ont accéléré l’abandon de l’amiante. Une interdiction complète de l’utilisation et de la commercialisation de produits contenant de l’amiante (suite à la directive européenne 1999/77/CE) est entrée en vigueur le 1er janvier 2005. L’interdiction de l’extraction de l’amiante et l’interdiction de la fabrication et de la transformation des produits contenant de l’amiante (suite à la directive 2003/18/CE) sont entrées en vigueur en avril 2006. Par conséquent, les problèmes d’amiante qui persistent en Europe peuvent être attribués à l’amiante présent dans les bâtiments, les installations ou les équipements.
Il existe également des différences importantes entre les États membres de l’UE. Certains pays ont réduit l’utilisation de l’amiante à partir de 1980 environ, tandis que d’autres ont continué à l’utiliser jusqu’à la fin du siècle.

Fig. 2.1 Estimation de la consommation totale d’amiante en Europe de 1920 à 2000 (Source des données : Virta (2003))

Fig. 2.2 Micrographie électronique à balayage montrant des fibres de chrysotile

Fig. 2.3 Micrographie électronique à balayage montrant des fibres d’amosite
L’amiante est dangereux car les fibres très fines ne sont pas visibles à l’œil nu. L’inhalation de ces fines fibres d’amiante peut entraîner l’une des trois maladies suivantes
L’asbestose entrave la respiration et peut contribuer à la mort. Le cancer du poumon entraîne la mort dans environ 95 % des cas. L’asbestose peut également être suivie d’un cancer du poumon. Le mésothéliome ne se guérit pas et entraîne généralement la mort dans les 12 à 18 mois suivant le diagnostic.
Il a été suggéré que l’exposition à l’amiante peut entraîner un cancer du larynx ou un cancer gastro-intestinal. L’ingestion orale de fibres d’amiante (par exemple dans de l’eau potable contaminée) a été suspectée d’être une cause de cancer gastro-intestinal, et au moins une étude a montré un risque accru dû à des concentrations anormalement élevées de fibres d’amiante ingérées par l’eau potable. Toutefois, ces soupçons n’ont pas été (systématiquement) étayés par les résultats d’études pertinentes.
L’exposition aux fibres d’amiante peut également entraîner des plaques pleurales. Il s’agit de zones épaissies discrètes, fibreuses ou partiellement calcifiées, à la surface de la plèvre, qui peuvent être détectées sur une radiographie ou une tomodensitométrie. Les dépôts sur la plèvre ne sont pas malins et n’entraînent généralement pas de limitation de la fonction pulmonaire.
En Europe, on dénombre chaque année des milliers de décès dus à des maladies liées à l’amiante. Lors d’une conférence sur l’amiante en 2003 (organisée à l’instigation du Comité des hauts responsables de l’inspection du travail (CHRIT) de l’UE), le nombre probable de décès par an dans un total de sept pays européens (Royaume-Uni, Belgique, Allemagne, Suisse, Norvège, Pologne, Estonie) a été estimé à environ 15 000.
http://www.hvbg.de/e/asbest/konfrep/konfrep/repbeitr/takala_en.pdf .
Lors de cette conférence, la relation entre la consommation d’amiante en Allemagne et l’apparition tardive des maladies liées à l’amiante nouvellement indemnisées a été décrite par Woitowitz à l’aide du graphique illustré à la figure 2.1. L’apparition différée signifie que de nouveaux cas de maladies liées à l’amiante continueront à se produire en raison de l’exposition à l’amiante pendant les périodes de pointe d’utilisation de l’amiante. Bien que la production de produits et de matériaux contenant de l’amiante ait été progressivement éliminée dans l’UE, il existe toujours un risque d’exposition à l’amiante à partir des matériaux et des produits qui se trouvent encore dans les bâtiments, les installations et les équipements.

Fig. 3.1 Consommation annuelle d’amiante et incidence annuelle de la maladie en Allemagne (Source : Woitowitz (2003)
http://www.hvbg.de/e/asbest/konfrep/konfrep/repbeitr/woitowitz_en.pdf
Au Royaume-Uni, il y a eu environ 1900 décès dus au mésothéliome en 2001, 2002 et 2003, et l’incidence du mésothéliome devrait atteindre un pic entre 2011 et 2015, entre 2000 et 2400 décès par an.
http://www.hse.gov.uk/statistics/tables/meso01.htm
On estime que les décès dus au cancer du poumon résultant d’une exposition à l’amiante sont environ deux fois plus nombreux que les décès dus au mésothéliome. Ainsi, le nombre total annuel de décès dus à un cancer lié à l’amiante au Royaume-Uni seulement est actuellement estimé à environ 5500 à 6000.
Dans les pays où la sensibilisation aux dangers de l’amiante n’est pas encore aussi élevée, les diagnostics et les statistiques de cancer (en particulier pour le mésothéliome, qui est difficile à diagnostiquer) peuvent être moins fiables.
Ces maladies se développent généralement sur des périodes plus longues et ne surviennent généralement pas plus tôt que 10 à 60 ans après la première exposition à l’amiante. La période de latence moyenne à partir de la première exposition est d’environ 35 à 40 ans pour le mésothéliome. La période de latence moyenne du cancer du poumon a été estimée à environ 20-40 ans. Il n’y a pas d’expérience directe d’effets néfastes de l’inhalation de fibres d’amiante.
L’asbestose se développe généralement à la suite d’années de forte exposition à l’amiante, et la maladie survient généralement plus d’une décennie après l’exposition initiale. Les cas d’asbestose qui continuent d’être signalés en Europe occidentale ont presque certainement été causés par une forte exposition il y a plusieurs décennies.
Le risque de développer un cancer du poumon lié à l’amiante et un mésothéliome augmente avec l’exposition. Le risque de maladie est plus faible si l’exposition à l’amiante est maintenue aussi basse que possible. Cependant, il n’existe pas de seuil connu en dessous duquel il n’y a absolument aucun risque de développer ces cancers. Il est donc important d’utiliser les meilleures pratiques pour éliminer ou minimiser le risque d’exposition.
On pense que le risque de développer un mésothéliome est plus grand pour les personnes exposées aux fibres d’amiante à un jeune âge que pour celles qui y sont exposées plus tard.
Il est généralement admis que le cancer du poumon est beaucoup plus fréquent chez les fumeurs que chez les non-fumeurs. Le risque de développer un cancer du poumon dû à l’exposition à l’amiante est également plus élevé chez les fumeurs que chez les non-fumeurs.
Si vous employez des personnes susceptibles d’être exposées à l’amiante dans le cadre de leur travail, vous devez.. :
Si vous êtes susceptible d’être exposé à l’amiante dans votre travail, vous devez.. :
Si vous êtes un inspecteur du travail, vous devez :
L’amiante était largement utilisé dans de nombreuses applications, par exemple pour le renforcement ou comme matériau d’isolation thermique, électrique ou acoustique. Il a été utilisé dans des produits soumis à des frottements, dans des joints et des adhésifs. Sa résistance chimique a conduit à son utilisation dans certains procédés, par exemple la filtration ou les procédés électrolytiques. Il a été utilisé dans des bâtiments commerciaux et industriels ainsi que dans des habitations privées, comme l’illustre la figure 4.1. On le trouve également dans les matériaux d’isolation des wagons de chemin de fer, des navires et d’autres véhicules, y compris les avions et certains véhicules militaires.
La mesure dans laquelle un matériau libère des fibres d’amiante dépend du fait que le matériau est intact ou endommagé. L’état des matériaux contenant de l’amiante peut changer avec le temps, par exemple en raison de dommages, de l’usure ou du vieillissement.
Il existe des différences importantes dans la fragilité des différents matériaux et la facilité avec laquelle les fibres peuvent être libérées. Le tableau 4.1 résume des exemples de matériaux contenant de l’amiante et leurs utilisations typiques. Les matériaux contenant de l’amiante sont répertoriés en fonction de leur potentiel de libération de fibres d’amiante. Les matériaux susceptibles de libérer facilement des fibres d’amiante figurent en tête de liste. Certains matériaux contenant de l’amiante (mélanges bitumineux et revêtements de sol en caoutchouc ou en plastique) sont inflammables. Ces matériaux inflammables ne doivent pas être éliminés par combustion car cela libérerait des fibres d’amiante.
Tableau 4.1 Exemples de matériaux contenant de l’amiante avec indication de la teneur en amiante




La mesure dans laquelle les différents types de matériaux contenant de l’amiante ont été utilisés varie considérablement d’un État membre à l’autre. Dans certains, l’amiante était principalement utilisé comme amiante-ciment. Dans d’autres États membres (par exemple, le Royaume-Uni), l’utilisation de revêtements structurels (un revêtement de quelques millimètres d’épaisseur seulement, contenant environ 5 % d’amiante) n’a été populaire que par moments.
Le tableau 4.2 résume des exemples d’utilisation de certains de ces matériaux contenant de l’amiante dans les appareils ménagers et les applications industrielles.
Tableau 4.2 Exemples de matériaux et produits contenant de l’amiante utilisés dans les appareils ménagers et autres applications

Les produits contenant de l’amiante étaient fabriqués par différents fabricants et proposés sous différents noms commerciaux. Dans de nombreux cas, les produits qui contenaient de l’amiante dans le passé ont été fabriqués par la suite sans amiante. Une liste exhaustive des détails des noms commerciaux, des fabricants et des périodes où le produit manufacturé contenait de l’amiante est disponible pour les produits vendus en France sur le site de l’INRS (INRS ED1475,
http://www.inrs.fr/inrs-pub/inrs01.nsf/B20B5BF9E88608EDC1256CD900519F98/$File/ed14 75.pdf ).

Fig. 4.1 Le bâtiment amianté montre les endroits typiques où l’on peut trouver des matériaux contenant de l’amiante.

Il existe une possibilité d’exposition à l’amiante lors de la réalisation de travaux d’entretien général ou de réparation dans les bâtiments. Si vous êtes impliqué dans un tel travail dans ces domaines, les conseils fournis ici seront pertinents pour vous :
Si vous employez ou supervisez des personnes qui peuvent être exposées à des matériaux contenant de l’amiante dans le cadre de leur travail (voir les matériaux décrits ci-dessus), vous devez :
Si votre travail risque de libérer de la poussière d’amiante provenant d’un matériau figurant dans la liste ci-dessus, vous devez.. :
Si vous êtes un inspecteur du travail, vous devez :

Fig. 4.2 Enceinte avec panneau d’isolation en amiante (partiellement enlevé pour montrer le conduit de fumée en amiante-ciment derrière).

Fig. 4.3 Panneau d’isolation en amiante comme cloison de séparation. Cet exemple montre les problèmes pratiques que pose la construction d’un joint approprié et les zones où la poussière d’amiante peut s’accumuler pendant le retrait.

Fig. 4.4 Un trou dans le mur révèle une isolation de tuyau en amiante

Fig. 4.5 Un conduit de fumée en amiante-ciment scellé par un cordon d’amiante passe dans un élément de remplissage en amiante.

Fig. 4.6 Dalles de sol contenant de l’amiante

Fig. 4.7 Feutre de toiture contenant de l’amiante

Fig. 4.8 Isolation en amiante des tuyaux de vapeur

Fig. 4.9 Câbles isolés avec une couche d’amiante dans l’isolation

Fig. 4.10 Revêtement en amiante-ciment dans une usine

Fig. 4.11 Isolation en amiante sur des poutres en acier

Fig. 4.12 Fermeture d’une porte de cheminée avec un cordon d’amiante. A droite, un gros plan du cordon d’amiante.
Lors de la préparation d’une évaluation des risques et d’un plan de travail, la documentation écrite de l’évaluation et des informations utilisées pour celle-ci fait partie des bonnes pratiques.
Afin d’obtenir des informations sur la localisation de l’amiante, une enquête menée par des professionnels compétents peut être nécessaire. Les procédures de réalisation de ces enquêtes ne sont pas abordées dans ce guide, mais il est important que la personne responsable (employeur, gestionnaire, travailleur) sache qu’elles sont nécessaires. Les informations doivent être fournies sous une forme facile à comprendre.
Lorsque l’information est fournie, il est important de respecter les limites indiquées dans l’information. Par exemple, il se peut que toutes les cavités des murs n’aient pas été testées lors d’une inspection.
Dans certains États membres, il peut exister une politique d’élimination de l’amiante (en particulier de l’amiante faiblement lié) lorsque cela est possible. Dans ce cas, la découverte de la présence d’amiante peut entraîner la nécessité de se conformer à la législation exigeant un retrait sûr.
Dans d’autres États membres, la décision sur ce qu’il convient de faire avec le matériau contenant de l’amiante se fonde sur un examen des facteurs relatifs au risque de libération de fibres d’amiante par le matériau. Ce processus décisionnel est décrit dans la section 6.2. Sous réserve de cette décision, les matériaux contenant de l’amiante peuvent rester là où ils sont et être traités comme un danger sans danger, à condition que les matériaux soient bien entretenus, bien scellés, consignés par écrit (par exemple sur les plans de construction) et étiquetés de manière appropriée.
L’amiante qui n’est pas retiré doit être régulièrement inspecté pour s’assurer que le matériau reste en bon état. En outre, il doit être précisé que l’organisation et le contrôle des travaux de proximité sont effectifs. Si l’amiante n’est pas en bon état ou ne peut être maintenu dans un état sûr, l’enlèvement doit être organisé.
S’il a été décidé d’effectuer des travaux dans des endroits où des matériaux contenant de l’amiante sont rencontrés ou de la poussière d’amiante est libérée, une évaluation écrite du danger et des risques qui en découlent doit être préparée. L’évaluation des risques doit être spécifique au site, c’est-à-dire inclure les spécificités du site, et doit inclure une évaluation des expositions potentielles et un résumé de l’expérience disponible en matière de contrôle de l’exposition à l’amiante dans des circonstances similaires. L’évaluation des risques doit prendre en compte les risques d’exposition à l’amiante pour les travailleurs ainsi que pour les autres personnes concernées dans le voisinage (par exemple, les résidents). Cela peut être basé sur des mesures de travaux similaires ou antérieurs. Les concentrations d’exposition typiques mesurées par l’exécutif britannique de la santé et de la sécurité pour les travaux impliquant des revêtements, des enduits et des panneaux d’isolation en amiante sont indiquées à l’annexe 1.
Des instructions écrites (parfois appelées « plan de travail écrit ») doivent être préparées pour chaque tâche.
Les conditions dans lesquelles le travail avec l’amiante est effectué créent certaines difficultés pratiques en ce qui concerne les urgences, telles qu’une maladie ou une blessure incapacitante soudaine. L’accès peut être limité (surtout si le travail est effectué dans une enceinte, voir chapitre 12) et le port d’un appareil respiratoire entrave la communication. Les procédures d’urgence doivent couvrir les accidents et les maladies à l’intérieur d’une enceinte. Pour cela, il faut disposer des informations suivantes :
Les procédures d’urgence doivent également préciser les mesures à prendre en cas d’évacuation d’urgence du bâtiment ou du chantier (par exemple, après une alerte au feu ou à la bombe) par des travailleurs portant des équipements de protection individuelle susceptibles d’être contaminés par l’amiante.
Les évaluations des risques et les instructions écrites (plan de travail) doivent être librement accessibles sur le site de construction. Ils doivent tenir compte des situations d’urgence prévisibles et indiquer les procédures à suivre et les personnes responsables dans un tel cas.
Si vous employez ou supervisez des personnes susceptibles de libérer de la poussière d’amiante dans le cadre de leur travail, vous devez :
Si vous êtes sur le point d’effectuer des travaux susceptibles de libérer de la poussière d’amiante, vous devez
Si vous êtes un inspecteur du travail, vous devez vérifier si :
L’organisme national de réglementation peut fournir des conseils sur la conception des plans de travail (par exemple, l' »aide-mémoire sur la déclaration de méthode » publié par l’unité du HSE britannique qui délivre les licences pour les travaux sur l’amiante http://www.hse.gov.uk/aboutus/meetings/alg/policy/02-03.pdf ). Un plan de travail peut contenir des références croisées à des informations générales sur les méthodes de travail, qui doivent être incluses. Le plan de travail doit toujours être complet et décrire toutes les caractéristiques spécifiques du site et de la tâche (par exemple, le plan du site et toute déviation des méthodes généralement acceptées).
La liste de contrôle suivante pour un plan de travail est basée sur les conseils de l’INRS, 1998 ED 815, annexe 6 et l’aide-mémoire Method statement du Health and Safety Executive britannique.
Cet exemple est une liste non exhaustive d’éléments que le plan de travail doit inclure ou prendre en compte. Il doit également inclure les éléments relatifs aux travaux à notifier (voir chapitre 12). Pour les travaux à faible risque (voir le chapitre 11), le plan de travail peut être moins complet mais doit inclure les sections ou les éléments marqués d’un astérisque (*).
*Page de titre
Sous le logo de l’organisation qui réalise les travaux :
Informations administratives
* Informations sur le site de construction
Facteurs affectant le plan de retrait ou d’encapsulation
Mise en place de l’ouvrage (enceinte, etc.) sur le chantier de construction
Travail préparatoire
Préparation de la zone où se dérouleront les travaux sur l’amiante
Enlèvement ou encapsulation de l’amiante
Programmes de contrôle (surveillance et mesures)
Enlèvement des déchets
Nettoyage de la zone de travail
Description et caractéristiques des matériaux et équipements utilisés au cours des travaux
Description et caractéristiques des matériaux et équipements utilisés au cours des travaux
Mesures d’urgence
Plans et schémas du site de construction
Dieses Kapitel beschreibt den logischen Entscheidungsfindungsprozess, wenn es darum geht:
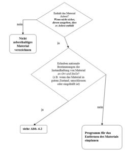
Un certain nombre de décisions clés doivent être prises avant d’effectuer des travaux dans lesquels des matériaux contenant de l’amiante peuvent être impliqués. Ces décisions sont étroitement liées au processus d’évaluation et de planification des risques (chapitre 5). Les évaluations des dangers détermineront les décisions appropriées ; ces décisions affecteront l’objectif et le contenu des plans à préparer.
Il y a plusieurs facteurs à prendre en compte pour décider des travaux à effectuer. Dans certains États membres de l’Union européenne, il existe une législation nationale qui exige en principe le retrait des matériaux contenant de l’amiante (en particulier les matériaux contenant des fibres faiblement liées) lorsque cela est réalisable. D’autres États membres décident si les matériaux contenant de l’amiante peuvent être laissés en place en fonction de certains critères, tels que l’état, l’emplacement, l’accès et donc la probabilité globale que le matériau présente un risque de libération de fibres fines d’amiante. La législation nationale doit donc être prise en compte pour décider si les matériaux doivent être sécurisés (par exemple par encapsulation et/ou confinement) et peuvent être laissés en place.
Sous réserve de la législation nationale, les matériaux contenant de l’amiante qui sont dans un état sûr (c’est-à-dire non endommagés, fermés ou encapsulés) peuvent être laissés sur place à condition qu’un contrôle et une gestion efficaces des matériaux sécurisés soient assurés. Si des matériaux contenant de l’amiante sont laissés en place, ils doivent être identifiés dans les registres et les plans du bâtiment afin que leur présence soit prise en compte dans les travaux futurs. En outre, un système doit être mis en place pour surveiller les matériaux contenant de l’amiante et gérer leur état (par exemple, maintenir les matériaux en bon état).
Les figures 6.1 et 6.2 montrent des arbres de décision logiques. Le point de départ est d’identifier si un matériau est de l’amiante ou non. Ensuite, un système permet de décider si le matériau doit être retiré ou non. Une fois que l’on sait que le matériau contient de l’amiante, une série de questions s’ensuit pour savoir si le matériau contenant de l’amiante.
Si le matériau contenant de l’amiante n’est pas en bon état, s’il ne peut pas être facilement réparé, s’il est facilement accessible (et donc potentiellement sujet à d’autres dommages ou perturbations), s’il est très endommagé et s’il n’y a pas de moyen pratique d’encapsuler ou de contenir le matériau, alors le matériau doit être retiré. Cette décision s’applique à tout type de matériau contenant de l’amiante.
L’alternative à l’enlèvement des matériaux contenant de l’amiante est de rendre les matériaux sûrs (en les gardant en bon état ou en les enfermant) et de les surveiller et les gérer in situ.
Même si les matériaux contenant de l’amiante peuvent être mis en sécurité et surveillés et gérés in situ, il est nécessaire de prendre en compte les exigences potentielles des travaux de rénovation normaux dans le bâtiment. Si les matériaux interfèrent avec les travaux de rénovation habituels dans le bâtiment, l’enlèvement des matériaux contenant de l’amiante serait la bonne décision.
Pour l’amiante-ciment et d’autres matériaux dont les fibres sont étroitement liées, le processus de prise de décision conduirait probablement à la décision de laisser le matériau en place, de le documenter, de le surveiller et de le gérer.
Fig. 6.1 Arbre de décision pour les matériaux suspectés de contenir de l’amiante

L’évaluation des risques est la base pour décider si le travail doit être traité comme un travail sur l’amiante devant être notifié.
La directive 2003/18/CE (Protection des travailleurs contre les risques liés à l’exposition à l’amiante pendant le travail), qui complète la directive 83/477/CEE, s’applique à tous les travailleurs susceptibles d’être exposés à la poussière provenant de matériaux contenant de l’amiante.
La directive européenne 2003/18/CE exige que les travaux soient signalés (à l’autorité de surveillance de l’État membre de l’UE concerné) et qu’une surveillance de la santé des travailleurs soit effectuée et documentée par écrit. Elle oblige également les employeurs à tenir un registre des travailleurs « indiquant la nature et la durée de leurs activités et les dangers auxquels ils ont été exposés ». Dans certains cas clairement définis, ces dispositions ne doivent pas s’appliquer. « Pour autant que l’exposition soit occasionnelle et de faible niveau et que les résultats de l’évaluation des risques montrent clairement que la valeur limite d’exposition à l’amiante dans l’air de la zone de travail n’est pas dépassée, [les dispositions ci-dessus] ne doivent pas être appliquées aux opérations suivantes :
La figure 6.3 présente une procédure permettant de déterminer si un travail répond aux critères de non-application de la législation.
La directive (2003/18/CE) fixe la limite d’exposition à l’amiante à 0,1 fibre/cm3, (moyenne pondérée sur 8 heures). Certains États membres de l’Union européenne déterminent la moyenne horaire sur des périodes plus courtes (4 heures ou 1 heure).
Les réglementations nationales des États membres peuvent différer quant à la question de savoir si et dans quelle mesure il est fait usage de la possibilité de déroger à ces dispositions.
Par conséquent, tous les travaux avec des matériaux friables (par exemple, les revêtements pulvérisés, les revêtements, les matériaux de bourrage en vrac) doivent être traités comme des travaux à déclaration obligatoire et nécessitent également une surveillance médicale. Dans le cas d’autres matériaux, l’état doit être évalué et une évaluation des risques doit être effectuée afin d’obtenir les informations nécessaires pour prendre une décision sur une éventuelle exemption par rapport à l’obligation de déclaration.
Pour les travaux impliquant la manipulation de matériaux à fibres fixes, par exemple l’amiante-ciment, l’évaluation des risques doit tenir compte de la nature et de la durée des travaux. L’annexe 1 donne des exemples de concentrations dans l’air qui ont été rapportées comme typiques pour diverses activités impliquant l’amiante-ciment.
Si vous employez ou supervisez des personnes susceptibles d’être exposées à la poussière d’amiante dans le cadre de leur travail, vous devez
Si des matériaux contenant de l’amiante sont susceptibles d’être endommagés au cours de vos travaux, vous devez.. :
Si vous êtes un superviseur et que vous inspectez un chantier de construction où se trouvent des matériaux contenant de l’amiante, vous devez :
Fig. 6.3 Arbre de décision pour décider si l’œuvre est notifiable ou non


Fig. 6.4 Panneau isolant contenant de l’amiante. La dépose du panneau doit être envisagée car le panneau peut facilement être endommagé à ce stade.
Ce chapitre présente les sujets à couvrir dans un programme de formation et renvoie à d’autres publications pour plus de détails. En particulier, le rapport de Bard et al (2001), qui présente des recommandations détaillées sur la structure et le contenu d’un programme de formation sur l’amiante, fournit des informations détaillées aux prestataires de formation. La directive européenne (2003/18/CE) stipule que « 1. les employeurs fournissent une formation appropriée à tous les travailleurs qui sont ou peuvent être exposés à la poussière contenant de l’amiante. Cette formation doit être dispensée à intervalles réguliers et doit être gratuite pour les travailleurs. 2. Le contenu de la formation doit être facilement compris par les travailleurs. L’enseignement doit permettre aux travailleurs d’acquérir les connaissances et les compétences nécessaires à la prévention et à la sécurité… »
Les recommandations d’un groupe de travail du CHRIT sont décrites dans : http://www.ilo.org/public/english/protection/safework/labinsp/asbestos_conf/inforen.pdf. Les recommandations de formation du Royaume-Uni sont décrites à l’adresse suivante : http://www.hse.gov.uk/aboutus/meetings/alg/licence/04-04.pdf.
La formation doit être présentée de manière à être facilement comprise par les participants (employeur, superviseur ou travailleur) et inclure des exercices pratiques sur l’utilisation de tous les équipements. Elle doit être délivrée dans la langue que les travailleurs (en particulier les travailleurs d’autres nationalités) connaissent et comprennent.
Ce chapitre comprend également de brèves indications sur le programme de formation requis (formation initiale, cours de recyclage, examen régulier des besoins en formation, etc.) Enfin, quelques suggestions sont faites concernant le matériel d’information de soutien pour consolider le succès de la formation.
Ce chapitre vise à indiquer clairement à l’employeur les formations qu’il doit organiser pour les travailleurs, les superviseurs et lui-même. Le travailleur doit savoir à quelle formation il a droit. Ces informations servent également à fournir à l’inspecteur du travail un cadre clairement décrit pour vérifier l’adéquation et l’efficacité de la formation.
La formation de toutes les personnes (employeur, superviseur, travailleur) impliquées dans un travail où elles peuvent (éventuellement) être exposées à des matériaux contenant de l’amiante doit inclure les sujets suivants :
Les travailleurs, les employeurs et les superviseurs qui peuvent être exposés à l’amiante sur le lieu de travail reçoivent une formation appropriée. Cette formation doit couvrir les éléments suivants, en plus du contenu énuméré à la section 7.2.1 :
La formation doit également porter sur les situations d’urgence où l’on soupçonne la présence d’amiante dans un matériau après que celui-ci a été endommagé. Dans ce cas, la formation doit prévoir des procédures pour s’assurer que la situation n’est pas aggravée par des actions inappropriées (par exemple, tenter de balayer le matériau) ou par une inaction qui perpétue l’exposition à l’amiante.
Si la formation est destinée aux travailleurs effectuant des travaux à faible risque, c’est-à-dire des travaux répondant aux critères énoncés au point 6.3, elle doit couvrir le contenu spécifié au point 7.2.1 et au-delà :
Pour les travailleurs et les superviseurs, la formation doit inclure des exercices pratiques afin de les familiariser avec les échantillons de matériaux et de mettre en pratique l’utilisation et l’entretien corrects des équipements et des techniques de travail appropriées.
La formation des superviseurs et des employeurs doit également porter sur les responsabilités légales et la supervision du travail.
Si la formation s’adresse à des travailleurs effectuant des travaux à déclaration obligatoire (c’est-à-dire que le danger évalué ne répond pas aux critères des travaux à faible risque et de portée limitée énoncés à la section 6.3), une formation plus complète est alors requise. Elle doit couvrir les sujets énumérés à la section 7.2.3, mais aussi la nature du travail et les sujets relatifs au travail à déclarer.
La formation des travailleurs chargés du désamiantage doit comporter des exercices pratiques afin qu’ils apprennent à utiliser et à entretenir les équipements relatifs à la sécurité (enceintes, équipements de protection individuelle, équipements de protection respiratoire, unités de décontamination, équipements de dépoussiérage et équipements de retrait contrôlé de matériaux contenant de l’amiante).
Les sujets énumérés aux sections 7.2.1 et 7.2.3 sont élargis pour inclure les éléments suivants :
Pour les travailleurs qui sont tenus par la directive de se soumettre à des examens médicaux, la formation doit inclure les éléments suivants :
Pour les superviseurs et les employeurs, la formation doit également inclure les éléments suivants :
En plus de la supervision pratique, la formation des superviseurs et des employeurs doit aborder les sujets traités aux chapitres 5 et 6, à savoir

Fig. 7.1 Exercice pratique d’utilisation d’un aspirateur de type H pour éliminer une matière contaminée simulée (talc). Cette illustration a été fournie par le HSE britannique.
Si vous employez ou supervisez des personnes susceptibles d’être exposées à l’amiante dans le cadre de leur travail, vous devez.. :
Si votre travail comporte un risque d’exposition à l’amiante, vous devez.. :
Si vous êtes un inspecteur du travail, vous devez :
Pour toutes les activités où les travailleurs sont ou peuvent être exposés à la poussière de matériaux contenant de l’amiante, la directive 2003/18/CE (protection des travailleurs contre les risques liés à l’exposition à l’amiante pendant le travail), qui complète la directive 83/477/CEE, exige que les travailleurs et leurs représentants reçoivent des informations adéquates sur :
Ces points sont inclus dans le programme de formation recommandé ci-dessus. En outre, les informations sur ces questions doivent également être facilement accessibles sur le lieu de travail sous une forme appropriée (par exemple, des affiches, des avis ou des brochures).
Un équipement adéquat doit être disponible pour le travail. L’équipement de base pour la plupart des tâches est indiqué dans cette section. L’équipement doit être maintenu en bon état et donc entretenu comme décrit dans la section 8.2.
Pour les travaux sur l’amiante à faible risque (qui ne doivent pas être déclarés), l’équipement requis comprend les éléments suivants :
Pour les travaux à déclaration obligatoire avec de l’amiante, vous devez également disposer des éléments suivants :
équipement électrique clé (ventilation à pression négative, éclairage, etc. dans l’enceinte) et réservoirs de stockage d’eau suffisants pour assurer l’approvisionnement en eau pour la décontamination personnelle recommandée. (L’équipement ne doit être utilisé que par des personnes compétentes et formées de manière appropriée).
Cette liste n’est pas exhaustive, mais elle montre la quantité d’équipement nécessaire pour être protégé contre le risque d’exposition à l’amiante. D’autres équipements (tels que des extincteurs et des équipements de premiers secours) sont également nécessaires.

La directive européenne 2003/18/CE stipule que pour les activités (telles que la réparation, l’entretien, le retrait et la démolition) qui peuvent générer des concentrations d’amiante supérieures à la valeur limite d’exposition admissible (pour la valeur, voir la section 6.3), l’employeur doit spécifier des mesures supplémentaires pour protéger les travailleurs, en particulier que « les travailleurs reçoivent un équipement de protection respiratoire approprié et d’autres équipements de protection individuelle à porter ». Par conséquent, un équipement de protection respiratoire approprié doit être choisi en fonction de l’évaluation des risques (chapitre 5). Un guide pour la sélection, l’utilisation et l’entretien des équipements de protection respiratoire est disponible dans la norme EN 529.
La sélection doit être fondée sur les principes suivants :
Un État membre de l’Union européenne recommande que :
Un autre État membre de l’Union européenne (le Royaume-Uni) fournit des tableaux de facteurs de protection qui peuvent être utilisés pour sélectionner l’équipement de protection le mieux adapté à la situation, voir les tableaux 8.1 et 8.2 ci-dessous. Les facteurs de protection du tableau montrent également que les respirateurs jetables EN FFP3 ne sont pas adaptés si la concentration dans l’air dépasse 20 fois la limite d’exposition. Il faut utiliser un appareil respiratoire autonome (ou un appareil respiratoire indépendant) lorsque les concentrations dépassent 40 fois la limite d’exposition.
Les performances des masques (tels que les masques à filtre, les masques complets et les demi-masques) dépendent fortement du maintien d’une bonne étanchéité entre la peau de l’utilisateur et le masque. Comme la forme du visage varie beaucoup d’une personne à l’autre, une taille ou un type de respirateur peut ne pas convenir à tous les visages. Par conséquent, il est important que :
L’essai d’ajustement facial et la participation du porteur peuvent être obligatoires selon la législation ou les directives nationales.
Les barbes, les pattes ou même les barbes visibles affectent l’effet d’étanchéité du masque facial. Les travailleurs présentant ces caractéristiques auront besoin d’un équipement de protection respiratoire qui ne dépend pas d’un joint sur le visage (par exemple, des bonnets ou des combinaisons à ventilation active).
Le port de lunettes de protection classiques empêche également une étanchéité satisfaisante. Il existe cependant des masques complets qui permettent de fixer des montures spéciales à l’intérieur du masque.
La directive européenne 2003/18/CE stipule également que lorsque le port d’un équipement de protection respiratoire est exigé, « il ne doit pas être permanent mais doit être limité à un minimum absolu de temps pour chaque travailleur. Pendant la période d’activités nécessitant le port d’un équipement de protection respiratoire individuel, des pauses de repos sont prévues conformément aux législations et pratiques nationales, en fonction de l’exposition physique et climatique et, le cas échéant, en consultation avec les travailleurs et/ou leurs représentants. »
Tableau 8.1 Types d’équipements de protection respiratoire disponibles pour la protection contre la poussière d’amiante

Tableau 8.2 Types d’appareils respiratoires disponibles pour la protection contre la poussière d’amiante

La directive européenne 2003/18/CE stipule que les travailleurs doivent suivre une formation pour acquérir les connaissances et les compétences liées à « l’objectif, la gamme et la sélection, les limites d’efficacité et l’utilisation correcte des équipements de protection respiratoire ».
L’équipement de protection respiratoire doit être correctement ajusté et porté pour assurer une protection efficace.
Pour les respirateurs jetables, les deux sangles de tête doivent être attachées derrière la tête et le clip nasal doit être pressé en position sur la selle du nez.
Pour les masques faciaux, les sangles doivent être serrées afin que l’équipement reste en place. Le harnais de tête doit généralement être porté sous le capot de la combinaison.
La protection respiratoire ne doit jamais être retirée dans un environnement contaminé, sauf en cas d’urgence (par exemple, une urgence médicale).
L’équipement de protection respiratoire doit être propre et en bon état avant d’être remis au porteur.
Avant d’utiliser l’équipement de protection respiratoire, l’utilisateur doit s’assurer qu’il est en bon état et utilisable, par ex.
Après utilisation, les masques doivent être nettoyés et désinfectés pour la prochaine utilisation. L’appareil respiratoire est rangé dans un endroit propre et spécifiquement désigné à cet effet.
(Voir également la section 8.3.2 concernant l’entretien régulier).

Fig. 8.2 Équipement de protection respiratoire. Ce chiffre a été fourni par le HSE britannique.
Des inspections régulières de l’équipement doivent être effectuées et enregistrées par une personne compétente et responsable. Le programme d’entretien et d’inspection doit inclure : l’enceinte elle-même (à chaque poste), le ou les aspirateurs de type H, l’équipement d’hygiène / unité de décontamination (à chaque poste), l’équipement de suppression des poussières (à chaque poste).
Les inspections doivent comprendre les contrôles suivants : État du matériel (usure), propreté et disponibilité des fournitures dans l’unité de décontamination (savon, serviettes, nouveaux filtres pour les respirateurs, etc.), éclairage adéquat (dans les sas et dans l’enceinte), fourniture de consommables pour le nettoyage, fonctionnement des générateurs de fumée et de l’unité de pression négative (par exemple, vérifier si le pré-filtre doit être changé).
Il est important que les respirateurs soient correctement et régulièrement entretenus, inspectés et révisés.
La surveillance de l’air fait partie de l’inspection et est décrite au chapitre 16.
Tous les équipements électriques portables doivent être régulièrement inspectés pour vérifier que les câbles et les connexions ne sont pas endommagés et que la sécurité électrique est assurée. Si un équipement électrique portable est utilisé dans un environnement humide, il doit être adapté à une utilisation dans un tel environnement.
Tous les équipements doivent être régulièrement entretenus afin de garantir qu’ils sont toujours adaptés à leur utilisation.
Les unités de pression négative (pour l’unité de confinement et de décontamination) doivent être régulièrement entretenues par des personnes compétentes. Après avoir remplacé le filtre à haute efficacité, la performance du filtre doit être testée avec un aérosol de remplacement sûr (par exemple, le phtalate de di-octyle [DOP]) par une personne compétente pour ce test.
Les filtres des eaux usées (de l’unité de décontamination et de l’enceinte) doivent être changés régulièrement. Les filtres usagés doivent être éliminés comme des déchets contenant de l’amiante.
Les composants de l’équipement de protection respiratoire peuvent s’user et ainsi altérer la fonction de protection. Par conséquent, l’équipement de protection respiratoire doit être entretenu régulièrement et cela doit être documenté en conséquence. La législation nationale peut préciser la durée pendant laquelle les dossiers doivent être conservés et être disponibles pour inspection.
Les aspirateurs de type H doivent être entretenus régulièrement.
Si vous employez ou supervisez des personnes dont le travail implique la manipulation de l’équipement décrit ici pour travailler avec l’amiante, vous devez vous assurer que :
Si vous comptez utiliser les équipements décrits ci-dessus lorsque vous travaillez avec des matériaux contenant de l’amiante, vous devriez :
Si vous êtes inspecteur du travail, vous devriez vérifier cela :
Avant d’effectuer tout travail susceptible de comporter un risque d’exposition à la poussière d’amiante ou à la poussière de matériaux contenant de l’amiante, une évaluation des risques doit être réalisée (à effectuer comme décrit au chapitre 5) afin de déterminer la nature et l’étendue de l’exposition des travailleurs. L’évaluation des risques sert de base aux décisions concernant les mesures de protection nécessaires. Les trois chapitres suivants traitent des mesures de protection requises dans les situations suivantes :
Cependant, l’exposition doit être minimisée dans tous les cas et des principes généraux de procédure existent pour ces trois situations :
Dans le cadre des mesures de prévention contre l’exposition à l’amiante par inhalation ou ingestion,
Les personnes effectuant des tâches liées au travail de l’amiante doivent être aptes à ces tâches. Une personne est considérée comme apte si elle possède une formation, une expérience et des connaissances suffisantes par rapport à la nature de la tâche à accomplir. Les facteurs à prendre en compte sont la complexité de la tâche et les risques qui peuvent survenir si la tâche est mal exécutée.
Si vous employez ou supervisez des personnes dont le travail est susceptible d’impliquer la manipulation d’amiante, vous devez :
Si votre travail est susceptible d’impliquer la manipulation de matériaux contenant de l’amiante, vous devez.. :
Si vous êtes un inspecteur du travail, vous devez :
Un certain nombre de métiers risquent de rencontrer inopinément et éventuellement d’endommager des matériaux contenant de l’amiante pendant le travail. Il s’agit notamment de : Charpentiers, menuisiers, monteurs de magasins, plombiers, techniciens en approvisionnement en gaz, électriciens, installateurs de câblage informatique, concierges et aides. Les travailleurs de la démolition, les démolisseurs et les réparateurs de navires, ainsi que les techniciens de véhicules et autres peuvent également entrer en contact avec l’amiante.
Des informations sur la présence de matériaux contenant de l’amiante devraient être mises à la disposition de ces entreprises avant le début des travaux afin qu’elles puissent faire des efforts pour éviter les risques. Ils doivent néanmoins être prêts à rencontrer des matériaux contenant de l’amiante de manière inattendue, car il existe toujours un risque que les informations sur les cas d’amiante soient incomplètes, pour quelque raison que ce soit. Le chapitre 9 contient des procédures générales pour les travaux qui peuvent impliquer de l’amiante. Ce chapitre donne des informations détaillées sur les travaux de maintenance et d’entretien qui présentent un risque de rencontrer de l’amiante. Si des matériaux contenant de l’amiante sont découverts inopinément, la première priorité est d’arrêter immédiatement les travaux et d’empêcher que des tiers soient exposés et propagent la contamination par l’amiante.
Si vous employez ou supervisez des personnes (par exemple dans les professions énumérées ci-dessus) qui travaillent sur le gros œuvre ou l’équipement d’un bâtiment susceptible de contenir des matériaux contenant de l’amiante, vous devez :
Si la présence d’amiante est confirmée, vous devez :
Si vous effectuez des travaux (dans un bâtiment, sur un équipement ou sur un véhicule) où il y a un risque de rencontrer de l’amiante ou d’endommager un matériau contenant de l’amiante, vous devez :
Si vous rencontrez de l’amiante de manière inattendue :
Si vous endommagez accidentellement des matériaux contenant de l’amiante, vous devez :
Si vous êtes un inspecteur du travail, vous devez :

Fig. 10.1 Combinaison (globale avec protection de la tête et du cou) et masque respiratoire jetable
La directive européenne 2003/18/CE concernant la protection des travailleurs contre les risques liés à l’exposition à l’amiante stipule que si l’évaluation des risques montre un faible risque d’exposition, les travaux ne doivent pas être notifiés à l’autorité compétente de l’État membre de l’UE. Les critères de l’article 3 de la directive européenne 2003/18/CE concernant la décision de savoir si un travail répond aux critères d’une exposition occasionnelle de faible niveau sont décrits dans la section 6.3. Toutefois, l’interprétation de l’article 3 est (au moment de la rédaction de ce guide) en cours de discussion dans les États membres.
En substance, le travail entre dans le champ d’application de ce chapitre si l’exposition du travailleur est « occasionnelle et de faible niveau » et si les résultats de l’évaluation des risques (effectuée comme décrit au chapitre 5) montrent que l’exposition est inférieure à la valeur limite d’exposition à l’amiante sur le lieu de travail (calculée comme une moyenne pondérée de 0,1 fibre/cm3 sur une période de 8 heures [ou 1 heure ou 4 heures dans certains États membres de l’UE]). Les travaux sur des matériaux non friables et non endommagés contenant de l’amiante, l’enlèvement de matériaux contenant de l’amiante intacts et non endommagés, ou l’encapsulage de certains matériaux contenant de l’amiante en bon état sont des exemples de travaux pouvant présenter un faible risque (et pouvant ne pas faire l’objet d’un rapport selon la législation nationale). La manipulation de matériaux non friables et intacts contenant de l’amiante est susceptible d’entraîner une faible exposition.
Les opérations suivantes, si elles sont effectuées avec soin pour minimiser la libération de poussières dans l’air, peuvent être considérées comme des exemples d’opérations à faible risque : Enlèvement d’une seule dalle de plafond en amiante, enlèvement d’un seul panneau d’isolation en amiante intact, perçage d’un maximum de 20 trous (diamètre inférieur à 20 mm) dans des panneaux d’isolation en amiante (avec des précautions appropriées pour éviter le dégagement de poussières, y compris une simple extraction locale avec un aspirateur de type H monté sur un capot au-dessus de la perceuse). D’autres exemples possibles de faible risque peuvent être trouvés dans le guide « Asbestos Essentials » [« Essential Points for Asbestos » pour les responsables de la santé et de la sécurité] du Health and Safety Executive britannique (HSG 210 et HSG 213, HSE (2001)). Le guide ED 809, publié par l’INRS, donne également des exemples de travaux de maintenance, dont certains peuvent être classés à faible risque. Cependant, les concentrations typiques publiées dans le guide ED 809 montrent que les concentrations sur le lieu de travail pour un large éventail de tâches de maintenance simples dépassent 0,1 fibre/cm3 pendant l’exécution de la tâche. Par conséquent, en fonction de la durée du travail, ils peuvent entraîner une concentration moyenne pondérée sur le lieu de travail dépassant la valeur limite d’exposition.
Si l’on ne dispose que d’informations limitées pour effectuer l’évaluation des risques en ce qui concerne l’exposition possible avant le début des travaux, des mesures doivent être prises pour établir les conditions réelles et ainsi pouvoir effectuer une évaluation des risques plus fiable si des travaux similaires doivent être effectués à l’avenir. Les mesures de contrôle doivent être suffisantes pour couvrir toutes les incertitudes de l’évaluation des risques.
Des informations sur les estimations publiées du niveau d’exposition à l’amiante sont disponibles pour divers exemples dans une base de données (en France) appelée Evalutil.
(http://etudes.isped.u-bordeaux2.fr/evalutil.). Cette base de données est décrite à l’annexe 1.
Avant de commencer à travailler sur ou à proximité de matériaux contenant de l’amiante, l’évaluation des risques et la planification (telles que décrites aux chapitres 5 et 6) doivent être complétées. Le personnel doit avoir reçu une formation adéquate (chapitre 7) et disposer de l’équipement approprié (chapitre 8). Des mesures de séparation et d’isolement de la zone de travail, des équipements de protection respiratoire et individuelle appropriés et des installations de lavage ont été prévus comme indiqué au chapitre 9. En supposant que ces mesures préparatoires ont été prises, ce chapitre donne les méthodes pratiques pour éliminer ou minimiser l’exposition.
Si vous employez ou supervisez des personnes effectuant des travaux à faible risque avec des matériaux contenant de l’amiante, vous devez vous assurer que la planification, la préparation, la formation, etc., comme indiqué ci-dessous et dans les chapitres précédents, ont été entièrement réalisées.
Lorsque vous effectuez une évaluation des risques, vous devez vous assurer qu’elle inclut les risques pour les autres travailleurs et les tiers.
Lorsque vous donnez des instructions écrites sur la manière d’effectuer le travail sur le site, vous devez inclure les procédures pratiques décrites ci-dessous ainsi que tous les détails spécifiques au site (par exemple, la route à utiliser pour enlever les déchets).
Limitez le nombre de personnes impliquées dans le travail.
Vous devez également vous assurer que l’équipement nécessaire à la mise en œuvre de ces procédures est disponible et en bon état de fonctionnement.
Vous devez vous assurer que la gestion et la supervision sont suffisantes pour vous permettre de vérifier le respect des instructions relatives aux pratiques de travail sûres.
Enfin, il faut établir et conserver des registres du personnel, du temps de travail et de l’exposition mesurée ou estimée à l’amiante.
Si vous effectuez des travaux à faible risque (tels que définis ci-dessus) sur des matériaux contenant de l’amiante, vous devez vous assurer que les mesures préparatoires mentionnées ci-dessus en référence à d’autres chapitres ont été réalisées (par exemple, que vous disposez d’instructions écrites définissant et limitant l’étendue des travaux et précisant les précautions à prendre (chapitre 5), la formation appropriée (chapitre 7) et l’équipement requis (chapitre 8)). Alors vous devriez :
Par exemple, si vous enlevez une seule dalle de plafond, construisez une enceinte simple d’environ 1 m2 (couvrant la surface de la dalle) pour empêcher la propagation de la poussière. Il peut s’agir d’un simple cadre en bois recouvert d’une feuille de polyéthylène durable (par exemple, d’une épaisseur de 125 µm [épaisseur 500]). Vérifiez l’intégrité de l’enceinte et de la feuille de polyéthylène à l’aide d’un tube de test de fumée, en particulier au niveau des joints. Un collègue doit utiliser une source de lumière vive ou une torche pour vérifier s’il y a des signes de fuites qui peuvent être détectés par la fumée pénétrant à l’extérieur.
Retirez les plaques ou les dalles contenant de l’amiante dans leur ensemble et évitez de les briser ou de les endommager.
Placez les matériaux contenant de l’amiante avec précaution et directement dans les sacs en plastique étiquetés (c’est-à-dire ne laissez pas les déchets non emballés s’accumuler).
Ne remplissez que partiellement les sacs à déchets afin qu’ils puissent être fermés facilement et correctement.
Évitez de pousser l’air hors des sacs lors de leur fermeture, car cet air peut transporter de la poussière et de l’amiante. Fermez soigneusement le sac et placez le sac fermé et étiqueté dans un second sac en plastique transparent et résistant.
Laissez intacts les articles plus volumineux qui ne rentrent pas dans les sacs (par exemple, les panneaux d’isolation en amiante complets) et emballez-les avec deux couches de film polyéthylène portant une étiquette clairement visible « Amiante » (par exemple, solidement fixée à l’intérieur de la couche extérieure transparente du film).
Évitez tout risque de propagation de la contamination en suivant un plan préétabli et en procédant avec prudence pour éviter d’endommager accidentellement les sacs lors de leur transport du site de travail vers un site de stockage des déchets sûr.
Rangez les matériaux contenant de l’amiante ensachés ou emballés dans un conteneur sûr (par exemple, un conteneur verrouillable) avant de les retirer.
Toujours se laver soigneusement en quittant la zone de travail.
Si vous êtes un inspecteur du travail, vous devez :
Ces principes généraux couvrent la majorité des travaux à faible risque. Les instructions écrites de la personne qui emploie ou supervise les travailleurs précisent quelles procédures s’appliquent à des tâches spécifiques. Dans la section suivante, les principes sont appliqués à une tâche spécifique à titre d’exemple.

Fig. 11.1 Utilisation de ruban d’avertissement (inscription « DANGER retrait d’amiante ») et de panneaux pour séparer une zone

Fig. 11.2 Panneaux d’avertissement indiquant les dangers et les précautions à prendre en images et en mots : « ATTENTION travaux d’amiante » ; « Les personnes non autorisées ne sont pas autorisées à entrer – il est interdit de fumer, de manger, de boire » ; « Au-delà de cette ligne, il faut porter des respirateurs, des combinaisons jetables et des combinaisons, y compris des chaussures ».
Les fragments de la gouttière d’un toit en amiante-ciment peuvent contenir de l’amiante. Par conséquent, l’enlèvement des fragments peut présenter un risque d’exposition à l’amiante et de propagation de la contamination par l’amiante. Par conséquent, une personne effectuant ce travail doit être correctement instruite.
L’équipement de protection individuelle requis comprend :
Les outils nécessaires comprennent :
La procédure de nettoyage de la gouttière comprend les éléments suivants :
Le nettoyage ultérieur comprend les éléments suivants :
La décontamination personnelle doit comprendre les éléments suivants :
La procédure d’inspection après l’achèvement des travaux doit comprendre un examen approfondi de la plate-forme et de la zone environnante pour s’assurer qu’elles ont été correctement nettoyées.
Si vous employez ou supervisez des personnes qui vont retirer des fragments de gouttières sur des toits en amiante-ciment, vous devez supposer que ces fragments contiennent de l’amiante. Vous devez donc vous organiser et veiller à ce que :
Si vous effectuez ce travail,
Suivez toujours le plan de travail écrit de l’employeur pour tous les travaux. Utilisez des procédures sûres lorsque vous travaillez en hauteur.
Si vous êtes un inspecteur du travail, vous devez :
L’enlèvement d’un seul panneau d’isolation murale en amiante vissé d’une superficie inférieure à 1 m2. Cette tâche entre dans le cadre des travaux non notifiables, à condition que le panneau d’isolation en amiante ne présente que des dommages mineurs, qu’il ne soit pas recouvert d’une peinture épaisse (de sorte que les panneaux adjacents pourraient être endommagés lors du retrait) et qu’il ne s’agisse pas d’un panneau de plafond.
L’équipement de protection requis pour cette tâche comprend les éléments suivants :
L’équipement requis comprend les éléments suivants :
La zone de travail doit être préparée comme suit :
Nettoyez la zone et l’équipement :
Suivez les procédures de décontamination personnelle telles que décrites dans l’exemple précédent.
Inspectez visuellement la zone pour vous assurer qu’elle a été correctement nettoyée.
Si les matériaux en amiante-ciment sont correctement manipulés, leur retrait est susceptible d’être classé comme un travail à faible risque dans l’évaluation des risques. Toutefois, si l’utilisation d’outils électriques est nécessaire, l’évaluation des risques peut donner une classification différente. (Les concentrations typiques pour le travail sur l’amiante-ciment sont indiquées à l’annexe 1). L’évaluation des risques doit également énumérer les équipements respiratoires et autres équipements de protection individuelle appropriés.
Pour les travaux d’entretien pouvant impliquer un contact avec des matériaux en amiante-ciment, la procédure doit suivre les procédures générales de la section 11.2.2, et en plus …
Lors de l’enlèvement de matériaux en amiante-ciment (pendant la démolition ou la réhabilitation), la procédure doit suivre les procédures générales décrites à la section 11.2.2, et :
Les gros morceaux d’amiante-ciment doivent être éliminés en bloc. Ils doivent être placés dans un conteneur ou un camion couvert ou enveloppés dans une feuille de polyéthylène avant d’être éliminés.
Les petits fragments et les accumulations de poussière doivent être enlevés avec un aspirateur de type H approuvé pour l’amiante. Les fragments trop gros sont collectés et mis en sac comme des déchets contenant de l’amiante.

Fig. 11.3 Utilisation de ruban adhésif et de feuilles de polyéthylène pour couvrir une zone de travail avant de retirer le matériau d’étanchéité en amiante d’une vanne.
Fig. 11.4 Le joint en amiante d’une vanne est humidifié.

Fig. 11.5 Utilisation d’outils manuels pour retirer le joint en amiante et les débris d’une vanne

Fig. 11.6 Utilisation d’un aspirateur pour capturer immédiatement la poussière créée lorsque l’amiante se détache d’une vanne

Fig. 11.7 Nettoyez soigneusement la zone de travail avec un aspirateur de type H et un chiffon humide.
La section 6.3 décrit les critères établis par la directive européenne concernant la protection des travailleurs contre les risques liés à l’exposition à l’amiante (83/477/CEE, complétée en dernier lieu par la directive 2003/18/CE) pour décider s’il est possible de déroger aux dispositions de la directive en matière de notification et de surveillance médicale. Ainsi, les travaux sont toujours considérés comme devant être notifiés, à moins qu’ils n’impliquent
« exposition occasionnelle des travailleurs à de faibles niveaux » et que l’évaluation des risques montre clairement que le niveau d’exposition à l’amiante dans l’air de la zone de travail (0,1 fibre/cm3, concentration moyenne pondérée sur 8 heures (ou 1 ou 5 heures dans certains autres États membres de l’UE)) n’est pas dépassé, et à condition que le travail soit l’une des activités restreintes (voir définition à la section 6.3). Dans le cas de travaux à déclarer, une surveillance médicale doit être assurée (voir chapitre 19), et les précautions pratiques décrites dans ce chapitre doivent être suivies.
Les travaux impliquant l’élimination de l’amiante sont clairement des travaux à notifier. La directive européenne 2003/18/CE stipule : » Avant d’effectuer des travaux de démolition ou de désamiantage, les entreprises doivent démontrer leur compétence en la matière. Ces preuves sont fournies conformément à la législation et/ou à la pratique nationales. »
Les chapitres précédents ont décrit les travaux préparatoires nécessaires avant d’effectuer des travaux soumis à déclaration :
La procédure générale pour prévenir le risque d’exposition lors du travail avec l’amiante a été décrite au chapitre 9, par exemple la séparation et la compartimentation de la zone de travail, les équipements de protection respiratoire et individuelle, et les installations de lavage pour les travailleurs.
L’obligation de surveillance médicale pour tous les travailleurs susceptibles d’entrer en contact avec l’amiante a déjà été soulignée (chapitre 6). Les obligations de l’employeur en matière de surveillance médicale ainsi que l’objectif et les avantages de la surveillance médicale sont décrits au chapitre 19.
La planification peut impliquer des décisions concernant l’enlèvement, le maintien, la surveillance ou le traitement des matériaux contenant de l’amiante sur chaque site. Les orientations à ce sujet varient selon les États membres de l’Union européenne. En Allemagne, la recommandation est d’enlever tous les matériaux contenant de l’amiante. Au Royaume-Uni, la recommandation est de laisser les matériaux amiantés en bon état sur place. Les deux approches présentent certains avantages : l’élimination de tous les matériaux contenant de l’amiante est une solution définitive ; cependant, elle peut entraîner une exposition immédiate qui aurait pu être évitée. Laisser les matériaux contenant de l’amiante en bon état est une action sûre, à condition qu’une surveillance et une gestion efficaces garantissent que tout travail d’assainissement futur soit effectué avec les précautions nécessaires concernant l’amiante présent et l’exposition à l’amiante.
Si, comme cela a déjà été décrit dans les chapitres précédents, vous employez ou supervisez des personnes qui vont effectuer des travaux à déclarer avec des matériaux contenant de l’amiante, vous devez :
En tant qu’employeur de personnes exposées à l’amiante, vous devez :
La directive 2003/18/CE exige que vous envoyiez « une notification à l’autorité compétente (de l’État membre de l’UE) conformément aux dispositions législatives, réglementaires et administratives nationales » avant de commencer à travailler ; (ces réglementations peuvent préciser quand la notification doit être faite – par exemple 14 ou 28 jours avant). » La notification doit comprendre au moins une brève description des éléments suivants :
L’avis peut en outre contenir les éléments suivants :
« S’il y a un changement dans les conditions de travail qui peut augmenter de manière significative l’exposition à la poussière d’amiante ou à la poussière provenant de matériaux contenant de l’amiante, une nouvelle notification doit être faite« . Vous devez également informer les autorités nationales de toute modification du plan de travail ou de tout changement significatif des méthodes de travail.
Si vous devez effectuer des travaux à déclarer sur des matériaux contenant de l’amiante dans le cadre de votre emploi (tel que défini à la section 12.1.1), les travaux préparatoires mentionnés dans les chapitres ci-dessus doivent être effectués. Assurez-vous que les opérations suivantes ont été effectuées :
examen médical lié à l’amiante (chapitre 19) au cours des deux années précédentes.
Si vous êtes un superviseur de travail, vous devez :
veiller à ce que votre propre formation et votre équipement soient suffisants pour vous protéger contre le risque d’exposition lors de la visite des chantiers.
L’organisation pratique des travaux de désamiantage a un rôle important à jouer pour garantir que les travaux sont effectués en toute sécurité.
Si des travaux doivent être effectués en hauteur sur le site, les procédures de sécurité pour le travail en hauteur (y compris la protection contre les chutes de hauteur, voir par exemple la publication MISC614 du Health and Safety Executive britannique) doivent être définies dans le plan de travail. Les procédures peuvent inclure l’utilisation de tours, d’échafaudages ou d’ascenseurs mobiles. Les procédures devraient inclure la protection de l’équipement contre la contamination (par exemple, en l’enveloppant ou en le recouvrant d’une feuille de polyéthylène), l’érection d’une tour ou d’un échafaudage (par exemple, l’utilisation d’un équipement de protection approprié), le retrait en toute sécurité, la décontamination de l’équipement avant le démontage de l’enceinte et l’inspection/test (pour la contamination).
Si vous employez ou supervisez des personnes qui vont effectuer des travaux à déclarer avec des matériaux contenant de l’amiante, vous devez, dans le cadre de vos travaux préparatoires :
Le superviseur du site doit s’assurer que la zone de travail est correctement contrôlée et que les éléments suivants sont garantis :
Vous devez également faire réaliser un test d’amiante par une personne indépendante et compétente.
Si vous avez l’intention d’effectuer des travaux à déclarer sur des matériaux contenant de l’amiante (tels que définis à la section 12.1.1), les travaux préparatoires mentionnés dans les chapitres précédents doivent être effectués. Assurez-vous que les éléments suivants sont fournis :
Vous devez :
Si vous êtes un inspecteur du travail, vous devriez :
Le but d’une enceinte est d’empêcher la propagation de la contamination par l’amiante et l’exposition d’autres personnes. L’accès réglementé par des sas et la décontamination du personnel et des équipements à la sortie garantissent que la contamination par l’amiante reste à l’intérieur de l’enceinte.
L’encoffrement est nécessaire pour tous les travaux d’élimination de l’amiante, à moins que la concentration de poussière d’amiante soit très faible, que le site soit assez isolé (de sorte que les autres personnes ne soient pas affectées) ou que l’encoffrement ne soit pas pratique,
Par exemple, dans le cas de systèmes de canalisation à l’air libre en hauteur ou de soffites (panneaux sous les chevrons en surplomb) sur les toits des bâtiments. Dans ces cas, d’autres méthodes doivent être utilisées pour éviter la propagation de la contamination et l’exposition d’autres personnes.
Avant d’installer une enceinte, préparez le site en prenant les précautions appropriées (qui devraient être spécifiées dans l’évaluation des risques (chapitre 5)) pour vous protéger contre l’exposition à l’amiante, par exemple des vêtements de protection individuelle, un équipement respiratoire et des aspirateurs approuvés pour être utilisés avec de l’amiante (aspirateurs de type H). Des poussières d’amiante peuvent être libérées lors du montage de l’enceinte ou des équipements d’accès (par exemple, un échafaudage).
Le travail préparatoire doit comprendre les éléments suivants :
Un enclos peut utiliser les structures de bâtiments existants ou être une structure temporaire complètement autonome. Les surfaces existantes doivent être lisses et imperméables ou recouvertes de feuilles de polyéthylène. En général, une enceinte sera construite sur une feuille de polyéthylène durable (250 µm d’épaisseur). La bâche est éliminée comme matériau contenant de l’amiante après la fin des travaux. En France, il est recommandé d’utiliser deux couches de feuilles de polyéthylène durables. L’enceinte doit présenter les éléments suivants :
Au moins 10 Pascal, un autre au moins 5 Pascal à l’intérieur de l’enceinte et pour établir un flux constant d’air frais à travers l’enceinte.
L’enceinte doit être aussi étanche que possible pour éviter toute fuite en cas de défaillance de l’unité de pression négative.
L’enceinte doit présenter les caractéristiques suivantes :
elle doit être résistante aux intempéries (si elle se trouve à l’extérieur) et/ou être constitué d’une feuille de polyéthylène ignifugée de couleur orange (s’il y a un risque d’inflammation et/ou un accès restreint).
Ces caractéristiques (résistance aux intempéries, résistance au feu) de l’enceinte doivent être clairement indiquées dans le plan de travail.
L’enceinte ne doit être pénétrée que par du personnel autorisé portant un équipement de protection individuelle et un appareil respiratoire approprié
Des panneaux doivent être prévus pour indiquer le risque d’exposition à l’amiante et pour signaler l’accès restreint et l’obligation de porter un équipement de protection. Ces panneaux doivent être conformes à la législation nationale.
Si vous employez ou supervisez des personnes qui vont effectuer des travaux à déclarer avec des matériaux contenant de l’amiante, vous devez vous assurer, dans le cadre de votre travail de préparation, que.. :
Si vous employez ou supervisez des personnes qui vont effectuer des travaux à déclarer avec des matériaux contenant de l’amiante, vous devez vous assurer, dans le cadre de votre travail de préparation, que.. :

Fig. 12.1 Accès à une enceinte. En commençant par le haut, les flèches indiquent dans le sens des aiguilles d’une montre : la fermeture du sac, le conteneur à déchets, la fenêtre d’observation, le manomètre de pression négative, l’unité de pression négative, l’unité d’alimentation électrique, l’agent mouillant et l’unité de décontamination.

Fig. 12.2 Unités de pression négative et tubes de sortie d’air, fenêtres d’inspection et avertissements
12.3.3 vérifie l’état des équipements et installations liés aux travaux
Les travailleurs à l’intérieur de l’enceinte doivent passer par la procédure de décontamination complète chaque fois qu’ils quittent l’enceinte. Il est donc important qu’une personne soit disponible à l’extérieur de l’enceinte pour :
Cette personne n’a pas besoin de porter le même type d’équipement respiratoire que les travailleurs à l’intérieur de l’enceinte. Cependant, il doit au moins porter une protection respiratoire jetable (pour l’utilisation avec l’amiante, par exemple EN FFP3) et une combinaison pour se protéger contre l’exposition au cas où l’un des sacs serait accidentellement endommagé. Il doit être systématiquement soumis à une procédure de décontamination à la fin du service.
Tout équipement introduit dans l’enceinte devrait être préparé de manière à ce que toute décontamination de cet outil puisse être effectuée aussi facilement que possible, par exemple en fixant des bouchons aux extrémités des tubes d’échafaudage et en enveloppant les plaques d’échafaudage d’une feuille de polyéthylène. Cependant, les planches enveloppées d’une feuille de polyéthylène présentent un risque de glissement lorsqu’elles sont mouillées. Dans cette situation, des planches fines (contreplaqué) sont nécessaires comme surface de marche. Ce bois doit être éliminé comme un déchet contaminé et ne doit pas être réutilisé.
Si vous êtes un inspecteur du travail, vous devez :

Fig. 12.3 Boîtier pour la dépose de l’isolation d’un conduit de fumées.
L’unité de décontamination doit être la première pièce d’équipement à être installée sur le site et la dernière à être démontée.
L’unité de décontamination est essentiellement un « vestiaire propre » séparé par une porte à fermeture automatique de la douche, qui à son tour est séparée par une porte à fermeture automatique d’un « vestiaire sale ». Le principe de fonctionnement est le suivant : le personnel du côté propre enlève ses vêtements de ville et enfile un équipement respiratoire propre et des combinaisons propres (combinaisons avec protection de la tête et du cou) avant de passer par la section des douches pour rejoindre le côté sale. Si possible, la section sale devrait être directement reliée à l’enceinte par un sas.
Des miroirs doivent être prévus aux deux extrémités de l’unité de décontamination pour permettre aux travailleurs de vérifier l’ajustement des équipements respiratoires et des combinaisons.
Après avoir travaillé dans l’enceinte (c’est-à-dire que le personnel a pu être contaminé par l’amiante), le personnel retourne à l’extrémité sale, nettoie la combinaison avec un aspirateur approuvé pour l’amiante (type H), mais garde l’équipement respiratoire jusqu’à ce qu’il se soit douché et que la surface extérieure de l’équipement respiratoire ait été nettoyée. Dans certains États membres de l’Union européenne (par exemple, le Royaume-Uni), les travailleurs nettoient leurs combinaisons avec des aspirateurs de type H à la sortie de l’enceinte (ou dans le sas le plus proche de l’enceinte), plutôt que dans la partie sale de l’unité de décontamination.
Tous les matériaux potentiellement contaminés qui ont été soit jetés (combinaisons dans la partie sale de l’unité de décontamination) soit utilisés (serviettes ou filtres dans la douche) doivent être mis en sac et éliminés comme des matériaux contaminés par l’amiante.
En général, il y a un compartiment de douche entre le « côté sale » et le « côté propre ».
Dans une disposition améliorée, il y a un espace intermédiaire supplémentaire et une deuxième salle de douche. Cela garantit une décontamination progressive et un rejet progressif de l’équipement de protection, permettant ainsi une protection optimale de l’utilisateur.
« extrémité propre » de la contamination. La mise à disposition de deux douches permet également d’utiliser la première douche pour laver les combinaisons imperméables avant de les enlever, puis la deuxième douche pour le lavage final après avoir enlevé les vêtements de protection. L’équipement de protection respiratoire est porté jusqu’à ce qu’il ait été lavé dans la deuxième douche. Les sous-vêtements jetables portés sous les combinaisons lavables sont jetés comme des déchets contaminés à éliminer. Les combinaisons lavables sont rangées dans la section centrale.
Dans un État membre de l’UE (France), la décontamination en cinq sections est également recommandée lors de l’utilisation de combinaisons jetables, à moins que cela ne puisse être mis en œuvre sur le site.
Les unités de décontamination étant souvent des unités mobiles, les installations sont généralement très compactes. Toutefois, il est important de prévoir un espace suffisant et des installations adaptées, par exemple des bancs, en fonction du nombre de travailleurs, afin de garantir une utilisation adéquate.
L’unité de décontamination doit être équipée d’une ventilation à pression négative. Le gradient de pression doit aller de « l’extrémité propre » à « l’extrémité sale ». Un taux de renouvellement d’air de 30 par heure pour la douche et l’extrémité sale est recommandé, mais certaines directives nationales acceptent moins. Plus le taux de renouvellement de l’air est élevé, plus la concentration d’amiante susceptible d’être libérée est faible.
L’utilisation correcte de l’unité de décontamination est essentielle pour prévenir le risque d’exposition. Il est important que l’on montre aux utilisateurs individuels comment l’utiliser correctement et qu’ils pratiquent la décontamination dans le cadre de leur formation (chapitre 7.2.4). La figure 12.1 montre l’utilisation d’une unité de décontamination composée de cinq sections et d’une autre composée de trois sections.



Si vous employez ou supervisez des personnes qui effectuent des travaux d’élimination de l’amiante, vous devez vous assurer que :
Si vous effectuez des travaux de désamiantage, vous devez :
Figure 12.1 Décontamination de personnes dans une unité de décontamination composée de cinq et trois chambres respectivement.






Fig. 12.5 Décontamination à l’aide d’un aspirateur de type H sous la douche avec une combinaison imperméable, puis douche avant de retirer l’équipement respiratoire (ces photos ont été gracieusement fournies par l’INRS ; copyright INRS).
L’unité de décontamination doit disposer d’un certificat de dépollution (confirmant que l’unité n’est plus contaminée suite à une utilisation antérieure) avant d’être mise en service sur le site.
Le nettoyage de l’unité de décontamination doit être effectué par une personne compétente portant une combinaison propre et un masque respiratoire. Le matériel contaminé (serviettes, filtres, combinaisons, etc.) doit être mis en sac et collecté – en commençant par l’extrémité propre – afin que le matériel contaminé puisse être évacué à l’extrémité sale.
La concentration de fibres d’amiante dans l’air est contrôlée régulièrement dans les sections où les travailleurs retirent leur équipement de protection respiratoire (chapitre 16).
L’unité de décontamination doit être soigneusement nettoyée après chaque poste. Il convient de vérifier régulièrement qu’il n’y a pas de contamination par des poussières d’amiante dans la « partie sale » et, à la fin des travaux, de procéder à un test de dégagement complet (similaire au test effectué à l’intérieur de l’enceinte) avant de quitter le site ou avant les travaux de démantèlement.
Si l’unité de décontamination ne peut être couplée directement à l’enceinte, assurez-vous qu’aucune contamination par l’amiante provenant de l’enceinte n’est libérée pendant le passage des travailleurs de l’enceinte à l’unité de décontamination. La procédure pour cette transition est plus appropriée pour les combinaisons jetables que pour les combinaisons lavables.
Avant d’entrer dans l’enceinte, vous devez :
Lorsque vous sortez de l’enceinte, vous devez :



Fig. 12.6 Unité mobile de décontamination
Figure 12.1 Décontamination de personnes dans une unité de décontamination composée de cinq et trois chambres respectivement.






Fig. 12.5 Décontamination à l’aide d’un aspirateur de type H sous la douche avec une combinaison imperméable, puis douche avant de retirer l’équipement respiratoire (ces photos ont été gracieusement fournies par l’INRS ; copyright INRS).
L’unité de décontamination doit disposer d’un certificat de dépollution (confirmant que l’unité n’est plus contaminée suite à une utilisation antérieure) avant d’être mise en service sur le site.
Le nettoyage de l’unité de décontamination doit être effectué par une personne compétente portant une combinaison propre et un masque respiratoire. Le matériel contaminé (serviettes, filtres, combinaisons, etc.) doit être mis en sac et collecté – en commençant par l’extrémité propre – afin que le matériel contaminé puisse être évacué à l’extrémité sale.
La concentration de fibres d’amiante dans l’air est contrôlée régulièrement dans les sections où les travailleurs retirent leur équipement de protection respiratoire (chapitre 16).
L’unité de décontamination doit être soigneusement nettoyée après chaque poste. Il convient de vérifier régulièrement qu’il n’y a pas de contamination par des poussières d’amiante dans la « partie sale » et, à la fin des travaux, de procéder à un test de dégagement complet (similaire au test effectué à l’intérieur de l’enceinte) avant de quitter le site ou avant les travaux de démantèlement.
Si l’unité de décontamination ne peut être couplée directement à l’enceinte, assurez-vous qu’aucune contamination par l’amiante provenant de l’enceinte n’est libérée pendant le passage des travailleurs de l’enceinte à l’unité de décontamination. La procédure pour cette transition est plus appropriée pour les combinaisons jetables que pour les combinaisons lavables.
Avant d’entrer dans l’enceinte, vous devez :
Lorsque vous sortez de l’enceinte, vous devez :



Fig. 12.6 Unité mobile de décontamination
Lorsque des matériaux contenant de l’amiante doivent être enlevés, des techniques de suppression des poussières doivent être utilisées pour éviter que les fibres d’amiante ne se retrouvent dans l’air. La technique d’élimination des matériaux contenant de l’amiante doit être choisie avec soin et en fonction de la situation. Par exemple, les techniques d’enlèvement par voie humide sont généralement privilégiées, mais elles ne conviennent pas en présence d’équipements électriques ou mécaniques sous tension. Un État membre de l’Union européenne recommande de déconnecter toute l’électricité du réseau extérieur, puis de la rétablir via un générateur indépendant. Si des produits chimiques sont présents sur le site, les réactions possibles de ces produits avec l’eau doivent être prises en compte. Les agents mouillants combinés à l’eau peuvent rendre les surfaces très glissantes, ce qui augmente le risque de glisser et de tomber, notamment lors de travaux en hauteur. L’utilisation d’un agent mouillant antigel est nécessaire dans des conditions de gel.
L’équipement (utilisé pour la suppression et le contrôle des poussières) doit être de qualité appropriée (par exemple, il doit répondre à des normes de qualité telles que la norme de qualité PAS au Royaume-Uni (British Standards Institution)), être en bon état de fonctionnement et être correctement entretenu.
Différentes techniques d’application sont utilisées pour humidifier les matériaux contenant de l’amiante : des sprays sans air pour humidifier la surface ou pour les matériaux minces et poreux et des aiguilles d’injection pour les matériaux plus épais ou à surface imperméable. Un agent mouillant doit être ajouté à l’eau pour mouiller efficacement l’amiante.
La méthode d’injection convient aux matériaux tels que les isolants thermiques et les revêtements projetés, ainsi qu’à d’autres matériaux contenant de l’amiante dont la surface est imperméable (par exemple, les panneaux d’isolation en amiante peints). Les aiguilles d’injection peuvent être placées sur une base solide (pour les surfaces planes) ou sur un tube d’alimentation flexible.
(pour les surfaces courbes ou irrégulières). Pour les zones inaccessibles, une injection en un seul point (sur une tige) peut être nécessaire.
L’injection doit être effectuée à basse pression (3,5 bars) afin que le matériau contenant de l’amiante soit humidifié par capillarité. De cette façon, on évite de répandre inutilement l’eau. Il est important de laisser suffisamment de temps pour que l’ensemble du matériau soit bien immergé. Si le matériau présente encore des zones sèches, cela peut entraîner des concentrations d’amiante nettement plus élevées dans l’air sur le lieu de travail.
La taille et la conception des aiguilles doivent être choisies en fonction de la forme du matériau contenant de l’amiante, par exemple des aiguilles longues avec des trous sur le côté long pour les revêtements/isolations de plus de 1 cm d’épaisseur.
Les aiguilles doivent être correctement alignées pour assurer une bonne couverture de la surface. Les différentes aiguilles doivent être positionnées suffisamment près les unes des autres pour qu’aucune zone sèche ne puisse apparaître. Le positionnement doit être tel que la propagation de l’eau soit assistée par la gravité (par exemple, aiguilles le long de la partie supérieure des tuyaux horizontaux ; aiguilles à intervalles d’environ un mètre en anneaux horizontaux autour des tuyaux verticaux).
Si le revêtement/isolant présente une surface dure qui doit être percée pour permettre l’injection des aiguilles, il faut utiliser des techniques de suppression de la poussière, par exemple l’humidification par des pulvérisateurs sans air, pour le processus de perçage ; si elle est humidifiée au préalable, l’eau peut être absorbée.


Fig. 12.7 L’isolation en amiante de la conduite montre plusieurs couches et la pénétration de l’agent mouillant


Fig. 12.8 Diagramme du système d’injection : (1) tube, (2) matériau isolant,(3) aiguille d’injection alimentée par un (4) conduit flexible.


Fig. 12.9 Le système d’injection : chaque aiguille comporte plusieurs ouvertures d’où sort l’eau. Cette illustration a été fournie par le HSE britannique (HSG247). Matériel protégé par le droit d’auteur de la Couronne, reproduit avec l’autorisation du contrôleur du HMSO et de l’imprimeur de la Reine pour l’Écosse.


Fig. 12.10 Exemple d’une injection multipoint. Ce système est utilisé pour mouiller l’amiante pulvérisé.
Les sprays sans air (c’est-à-dire les sprays qui n’utilisent pas d’air ou de gaz propulseur pour transporter l’eau) peuvent être utilisés pour mouiller les surfaces des matériaux poreux (par exemple, les feuilles isolantes, les cordes, les joints) et pour préparer tout matériau avant le forage afin que les aiguilles puissent être insérées pour l’injection. Le mouillage avec des sprays sans air peut également être utilisé pour les panneaux d’isolation en amiante (pour l’enlèvement sous ventilation locale) et pour les petits fragments lors du nettoyage.
Les revêtements/isolations endommagés peuvent facilement se détacher lors de l’injection. Une telle section endommagée peut être enveloppée d’un film polyéthylène (ou d’un film alimentaire et d’un ruban adhésif) pour empêcher les fragments de se répandre.
Il peut être nécessaire d’enlever la gaine métallique de l’isolant contenant de l’amiante afin d’exposer l’isolant pour l’injection. Si la gaine métallique peut être percée, la méthode d’injection doit être utilisée comme décrit. Si la gaine peut être enlevée sans endommager l’isolation, c’est une méthode plus facile. Dans ce cas, le dégagement de poussières doit être contrôlé à l’aide de sprays sans air et d’une extraction locale.
Un mouillage uniforme est difficile si le matériau présente des fissures internes ou une porosité variable. Si des fissures sont clairement visibles, placez les aiguilles avec précaution pour maximiser l’efficacité du mouillage. Si la porosité est différente, l’ajustement du débit peut aider. Il peut être nécessaire d’envelopper les matériaux contenant de l’amiante pour retenir l’eau et assurer une humidification complète.
Les grands systèmes de chauffage industriel à haute capacité peuvent présenter les problèmes suivants :
Les matériaux contenant de l’amiante suffisamment humidifiés ont une consistance pâteuse et peuvent être retirés sous cette forme.
L’enlèvement des matériaux humides contenant de l’amiante se fait de préférence avec des outils manuels (p. ex. grattoirs, ciseaux, tournevis). Aucun outil électrique (comme les meuleuses à tronçonner et les meuleuses à papier de verre) ne peut être utilisé pour séparer les matériaux contenant de l’amiante !
Les travaux doivent être effectués de manière systématique : Les matériaux retirés doivent être immédiatement mis en sac ou emballés ; le travail doit se faire de haut en bas pour éviter la recontamination des surfaces propres (par exemple, d’abord les plafonds/poutres, puis les murs et enfin le sol).
Après avoir enlevé la plus grande partie du matériau, il peut rester de petits résidus sur les surfaces. Parfois, les résidus collent (par exemple, sur les surfaces rugueuses des tuyaux). Il est préférable d’utiliser des outils manuels pour enlever les résidus d’amiante, mais des outils électriques peuvent être nécessaires pour certains matériaux résiduels très adhésifs. Dans ces cas, ils doivent être utilisés au réglage le plus bas et avec une technique d’élimination des poussières (mousse, pulvérisation sans air ou ventilation par aspiration locale).


Fig. 12.11 Mise en sac des déchets d’amiante directement sur le site de retrait pour éviter la propagation de l’amiante et minimiser l’exposition à l’amiante.
Si vous employez des personnes pour enlever des matériaux contenant de l’amiante, vous devez assurer une supervision efficace pour garantir que :
Lors du désamiantage :
Utilisez UNIQUEMENT les méthodes spécifiées dans le plan de travail
NE PAS utiliser d’outils électriques sur des matériaux contenant de l’amiante (sauf pour des applications spéciales et restreintes lorsque cette application est spécifiée dans l’évaluation des risques et le plan de travail).
Si vous êtes un superviseur de travail, vous devez vérifier que le travail a été mis en œuvre conformément au plan de travail, par ex :
L’enlèvement humide est la meilleure méthode et doit toujours être utilisé, sauf circonstances particulières. Si l’élimination humide n’est pas possible, l’élimination sèche contrôlée est une alternative. Il s’agit d’enlever en utilisant d’autres méthodes pour contrôler le dégagement de poussière, comme la ventilation locale ou l’enveloppement des parties isolées et la découpe et l’enlèvement de la section entière (connu sous le nom de « enveloppement et découpe »).
Il est possible d’emballer et de couper des sections de tuyaux isolés thermiquement lorsque le tuyau doit être éliminé avec l’isolation thermique comme un déchet d’amiante. À cette fin, le tuyau thermiquement isolé est enveloppé d’un film de polyéthylène. Il peut être nécessaire de retirer de petites sections localisées de l’isolation thermique pour permettre la découpe du tuyau. La dépose de cette partie de l’isolation thermique entraîne un risque d’exposition à l’amiante à cet endroit et l’ensemble des travaux doit donc être réalisé dans une enceinte (voir le point 12.3.1 pour les cas exceptionnels où une enceinte n’est pas nécessaire). Cette technique ne convient que si les sections de tuyaux sont de taille appropriée et si le contenu des tuyaux/conteneurs a été drainé.
Les sacs à gants, qui sont fabriqués en plastique transparent résistant, comportent des gants en plastique à manches longues intégrés qui permettent à un travailleur extérieur de manipuler les articles qu’ils contiennent. Après avoir fixé le sac à gants autour de l’article à retirer, le travailleur peut utiliser des outils à l’aide du sac pour retirer l’amiante. Le matériau retiré de l’objet est recueilli dans la partie inférieure du sac à gants. Le sac doit être muni d’une fermeture éclair étanche afin que les déchets puissent être enfermés dans la partie inférieure du sac lorsque le travail est terminé. Le sac ne peut être utilisé qu’une seule fois et doit ensuite être jeté avec les déchets. Si possible, le sac à gants doit être utilisé avec une légère dépression.
Une procédure pour retirer les outils du sac à gants (par exemple, après avoir terminé le travail) doit être établie. Pour ce faire, il suffit de placer les outils dans l’un des gants, que l’on tire ensuite vers l’extérieur, en laissant les outils dans le gant en plastique qui a été tiré vers l’extérieur. Lorsque le gant est noué, les outils restent dans une sorte de sac en plastique. Un deuxième nœud dans le gant crée une section qui peut être ouverte avec un risque minimal de libération d’amiante. Le sac à outils peut être ouvert soit dans le sac à gants suivant, soit dans un seau d’eau pour le nettoyage.
Le sac à gants protège le travailleur mais ne constitue pas une protection suffisante pour passer outre l’exigence d’un équipement de protection individuelle et d’un équipement respiratoire ou l’exigence d’une enceinte, l’amiante pouvant s’échapper d’un sac s’il est endommagé.
Les sacs à gants sont disponibles dans le commerce en différents modèles.


Fig. 12.12 Sac à gants pour le retrait contrôlé d’un revêtement en amiante (Ces photos ont été gracieusement fournies par l’INRS ; copyright INRS).
L’élimination directe par des systèmes à pression négative est une méthode appropriée et efficace pour éliminer l’amiante détaché (par exemple, l’isolation thermique ou acoustique). Les déchets d’amiante sont acheminés vers une unité de collecte hors site au moyen d’une ligne de transport à pression négative. La pression négative nécessaire est générée par un équipement conçu à cet effet.
Si cette ligne est reliée à une unité d’ensachage qui se trouve à l’extérieur de l’enceinte, alors l’unité d’ensachage doit avoir sa propre enceinte et les travailleurs de l’unité d’ensachage doivent porter un équipement complet de protection respiratoire et un équipement de protection individuelle et se soumettre à des procédures complètes de décontamination (comme pour les travaux de désamiantage).
Si ce type d’équipement est utilisé, le plan de travail doit indiquer clairement comment les blocages dans la ligne de transport à pression négative seront éliminés. Par exemple, le tuyau doit être soigneusement bouché aux deux extrémités et tiré dans l’enceinte des travaux de désamiantage où l’obstruction peut être éliminée.
S’il a été décidé de sécuriser une partie ou la totalité des matériaux contenant de l’amiante par encapsulation ou fermeture, ce processus peut comporter un risque de perturbation des matériaux contenant de l’amiante. L’encapsulation peut être réalisée soit par application d’un revêtement d’étanchéité mince, d’un revêtement d’étanchéité épais ou par imprégnation du matériau contenant de l’amiante avec un liquide de durcissement. Cependant, le mouillage initial peut déjà provoquer un poids supplémentaire tel que le matériau contenant de l’amiante se détache et tombe. Ce faisant, il provoque de la poussière. En général, les mêmes précautions doivent être appliquées à l’encapsulation des matériaux contenant de l’amiante qu’à l’enlèvement de l’amiante.
Enfermer peut signifier enfermer le matériau contenant de l’amiante dans une structure éloignée du matériau contenant de l’amiante. L’évaluation des risques pour cette tâche doit déterminer si le travail peut perturber le matériau contenant de l’amiante. Cela influencera la décision de savoir si le travail doit être notifié et donc effectué conformément aux précautions décrites dans ce chapitre, ou si les précautions énoncées au chapitre 11 sont suffisantes.


Abb. 12.13 Vorsichtiges Lösen einer Asbest-Deckenplatte. Diese Abbildung wurde von dem UK HSE zur Verfügung gestellt.
Une surveillance et une maintenance programmées de l’enceinte doivent être assurées. Une personne formée ayant une expertise pertinente peut être désignée comme personne responsable. Le système de surveillance doit préciser les mesures et la fréquence. Les registres de suivi doivent être examinés régulièrement par la direction.
Le suivi doit comprendre les éléments suivants :
Des inspections visuelles régulières constituent la première étape de la prévention des fuites.
Pour les déchets contenant de l’amiante, utilisez des sacs dotés d’un code couleur et étiquetés comme déchets d’amiante conformément à la législation nationale sur les déchets d’amiante. Les sacs à déchets ne doivent PAS être remplis complètement et le contenu doit être
être humide. Les sacs doivent être soigneusement fermés pour empêcher l’air de s’échapper, puis scellés.
Les déchets ensachés ou emballés sont retirés de l’enceinte par un sas distinct de celui du personnel. Le sas à déchets est souvent appelé « sas à sacs » et se compose généralement de trois chambres.
Les sacs à déchets scellés (ou les articles emballés) sont rincés (avec une douche à main) et essuyés dans la chambre intérieure du sas à sacs à trois chambres. Les sacs nettoyés sont placés dans la chambre centrale du sas et rangés dans un autre sac transparent, qui est ensuite scellé. Les déchets en double sac sont placés dans la chambre extérieure du sas. Les déchets sont retirés de la chambre extérieure par des travailleurs situés à l’extérieur de la chambre et portant un équipement de protection respiratoire approprié (approuvé pour le travail sur l’amiante) et sont directement acheminés vers la zone de stockage sécurisée des déchets (par exemple, un conteneur à déchets verrouillable).
Il faut veiller à ce que le cadre de la fermeture du sac ne comporte pas de coins ou de pointes acérés, car les arêtes vives peuvent endommager les sacs (ou les emballages) contenant les déchets.
Les déchets emballés qui sortent de l’enceinte doivent être stockés à l’abri de tout dommage accidentel ou intentionnel. Une fois que les déchets ont quitté la fermeture du sac, les déchets emballés doivent :
Il faut faire attention à ne pas déchirer ou endommager les sacs :
Comme décrit à la section 12.3.3, un travailleur se tenant à l’extérieur de l’enceinte peut retirer les déchets emballés de la fermeture du sac et les déplacer vers un lieu de stockage sûr. Ce travailleur doit porter un équipement de protection individuelle et un équipement de protection respiratoire appropriés, comme spécifié dans l’évaluation des risques et le plan de travail.
Tous les équipements et toute la zone de travail doivent être maintenus propres pendant l’exécution des travaux. Ce faisant, les déchets contenant de l’amiante doivent être mis en sac dès qu’ils sont produits. Les zones de travail doivent être nettoyées et rangées après chaque poste.
mettre de l’ordre. Les méthodes de nettoyage ne doivent pas créer de poussière. Des aspirateurs de type H approuvés pour les travaux sur l’amiante doivent être utilisés pour aspirer la poussière. Il faut utiliser les accessoires appropriés pour les surfaces respectives.
Les fragments doivent être humidifiés avant la collecte. Les pelles et les râteaux peuvent être utilisés pour les morceaux cassés (les balais ne conviennent pas pour cela). Des chiffons ou des linges humides peuvent être utilisés pour nettoyer les surfaces. Dans ce cas, l’eau d’essuyage doit être changée régulièrement pour éviter la contamination de toute la surface. Lorsque les surfaces ont été essuyées, elles doivent sécher avant d’être soumises à l’inspection finale.
L’aspirateur de type H ne doit pas être utilisé pour ramasser les matériaux humides car l’humidité détruirait les filtres à haute efficacité qui empêchent la libération des fibres.
Une fois que l’amiante a été enlevé et que tous les déchets d’amiante, les outils et les équipements ont été sortis de l’enceinte, un nettoyage final de la zone fermée devrait être effectué. Les surfaces doivent d’abord être aspirées avec un aspirateur de type H, puis essuyées avec des chiffons et des lingettes humides.
Les bâches et les feuilles qui ont été utilisées pour couvrir l’installation, les équipements, les sols ou d’autres surfaces peuvent ensuite être nettoyées. Ces bâches et panneaux (mais vraiment seulement ces bâches et panneaux) doivent être aspergés d’un produit d’étanchéité pour empêcher la poussière de se dégager lorsque ces pièces sont déplacées.
Tous les équipements utilisés dans les travaux de désamiantage doivent être nettoyés avant d’être déplacés hors de l’enceinte. Dans la mesure du possible, les équipements tels que les panneaux d’échafaudage ou les plates-formes des ascenseurs mobiles auraient dû être protégés (par exemple avec des feuilles minces, des feuilles de polyéthylène) avant d’être introduits dans l’enceinte. Ces bâches et feuilles peuvent être recouvertes d’un produit d’étanchéité et doivent être éliminées comme des déchets contaminés par l’amiante. Toutes les surfaces qui ne sont pas entièrement protégées doivent être nettoyées avec un aspirateur de type H et de l’eau propre. L’eau contaminée doit être éliminée par un système de filtration de l’eau.
Enfin, l’entrepreneur doit procéder à une inspection approfondie pour s’assurer que tous les matériaux contenant de l’amiante à retirer ont été enlevés et que la zone de travail a été nettoyée des fragments visibles et de la poussière fine déposée. Les seuls éléments restant dans l’enceinte à ce stade sont les déchets emballés qui n’ont pas pu être amenés à l’extérieur par la fermeture du sac, un aspirateur de type H, l’équipement permettant d’accéder aux zones plus élevées de l’enceinte, ainsi que des chiffons et des sacs à déchets pour le nettoyage supplémentaire qui peut être commandé par un expert indépendant effectuant un test d’amiante (voir chapitre 16).
Dans certains États membres de l’Union européenne (Royaume-Uni et Irlande), l’expert indépendant effectue une procédure en 4 étapes pour évaluer si les travaux relatifs à l’amiante ont été réalisés de manière satisfaisante avant que les locaux puissent être réoccupés :
Les procédures dans les différents États membres de l’Union européenne peuvent inclure la délivrance par l’expert d’un document ou d’un certificat indiquant les résultats de chaque étape. Il peut être demandé au contractant de contresigner le document.
Lorsque la procédure ci-dessus a été réalisée de manière satisfaisante, l’expert procède également à un examen de l’unité de décontamination avant qu’elle ne soit retirée du site. L’examen comprendra une inspection visuelle dans toutes les sections et une vérification de l’air dans la douche et dans la section où des articles contaminés ont été laissés.
Des conseils détaillés à l’intention des inspecteurs qui effectuent ces procédures ont été publiés par le Health and Safety Executive du Royaume-Uni (2005) dans le document d’orientation HSG248.
Dans certains États membres de l’Union européenne, l’analyse de l’air au moyen d’un microscope électronique est requise après l’achèvement des travaux de désamiantage (voir chapitre 16.2 : Description de la signification des différentes méthodes de mesure).
Si vous êtes inspecteur du travail, vous devez vérifier à ce que :
Vous devez également vérifier que :
Tenez également compte des contrôles pratiques décrits à la section 11.2.2 (par exemple, sur les matériaux contenant de l’amiante qui doivent être retirés aussi intacts que possible).
Si les meilleures pratiques ne sont pas appliquées dans un projet ou sur un chantier, donnez des instructions claires concernant les mesures et les recommandations nécessaires. Si la non-application des meilleures pratiques entraîne une exposition importante des travailleurs ou d’autres personnes à l’amiante, le plus sûr est d’arrêter les travaux.
Les travaux de démolition sont couverts par la directive du Conseil concernant les prescriptions minimales de sécurité et de santé à mettre en œuvre sur les chantiers mobiles (92/57/CEE). Cette directive exige que l’on tienne dûment compte de la santé, de la sécurité et du bien-être public lors de l’installation d’un chantier de construction.
Ce guide se concentre sur la prévention des risques d’exposition à l’amiante et ne cherche donc pas à couvrir les exigences découlant des exigences générales de la directive sur les chantiers mobiles. Cependant, les personnes impliquées dans la gestion des travaux de démolition devraient avoir connaissance des exigences relatives à cette directive.
La directive européenne 83/477/CEE, modifiée en dernier lieu par la directive 2003/18/CE, stipule que « Avant d’effectuer des travaux de démolition ou de désamiantage, les entreprises doivent démontrer leur expertise en la matière. Ces preuves sont fournies conformément à la législation et/ou à la pratique nationales. »
La directive exige également qu’avant le début des travaux de démolition : « les employeurs, après avoir obtenu, si nécessaire, les informations appropriées du propriétaire, prennent les mesures nécessaires pour identifier les matériaux susceptibles de contenir de l’amiante. S’il existe des raisons de penser qu’un matériau ou un bâtiment contient de l’amiante, les dispositions pertinentes de la présente directive doivent être suivies. » Ces dispositions sont notamment les suivantes : « l’amiante et/ou les matériaux contenant de l’amiante sont retirés avant l’application des techniques de démolition, sauf si ce retrait entraîne un risque plus important pour les travailleurs que si l’amiante et/ou les matériaux contenant de l’amiante étaient laissés in situ. »
Lors de la réalisation de travaux de démolition susceptibles d’impliquer des matériaux contenant de l’amiante, les points clés à prendre en compte sont les suivants :
L’exécution des travaux de démolition doit comprendre les étapes suivantes :
Avant les travaux de démolition, identifier les endroits où se trouvent des matériaux contenant de l’amiante inaccessibles ou qui ne peuvent être enlevés en toute sécurité, B. les matériaux contenant de l’amiante qui forment ou isolent des éléments de structure.
Élaborer une stratégie concernant le type et le moment de l’enlèvement de ces matériaux contenant de l’amiante, B. L’enlèvement des panneaux contenant de l’amiante peut nécessiter l’enlèvement des dalles de béton. Cette opération peut être effectuée dans une zone de travail fermée avec du personnel correctement formé portant un équipement respiratoire approprié. Il n’est pas toujours pratique d’ériger un enclos dans ces circonstances.
Si des matériaux contenant de l’amiante sont découverts inopinément, un système de travail sûr doit être mis en place pour garantir l’élimination des matériaux contenant de l’amiante en exposant le moins possible les personnes travaillant à proximité.
Différentes techniques peuvent être utilisées pour les travaux de démolition :
Démontage – Il s’agit de démonter la structure dans l’ordre inverse du montage. Les matériaux non structurels (par exemple, les revêtements muraux et les panneaux de toiture en amiante-ciment) sont normalement démantelés en premier, puis la structure est démantelée. Cela se fait soit en le dévissant manuellement, soit en utilisant un chalumeau et des équipements de levage et d’accès (par exemple, un échafaudage ou une plate-forme élévatrice mobile).
Par des machines – De grandes machines équipées de divers outils spéciaux peuvent effectuer toute une série d’opérations de démolition. Des machines équipées de cisailles hydrauliques peuvent couper avec précaution des poutres de la structure auparavant inaccessibles. Ces machines peuvent soulever des poutres recouvertes d’une couche d’isolation en amiante jusqu’au sol, où l’élimination de l’isolation en amiante peut être effectuée dans des conditions contrôlées. La démolition par machine est souvent préférée parce que les personnes impliquées dans le travail sont à une distance sûre de la structure du bâtiment pendant la démolition. Les grands bâtiments en brique ou en pierre peuvent être renversés par des machines spécialisées. Les déchets contenant de l’amiante peuvent être manipulés sur le sol dans des conditions contrôlées, évitant ainsi les risques liés au travail en hauteur.
Démolition à distance à l’aide de boules de démolition ou d’équipements similaires.
Ces méthodes sont utilisées lors de la démolition de structures dangereuses. Ils protègent la sécurité des travailleurs impliqués dans les travaux de démolition. Néanmoins, l’évaluation des risques doit indiquer le niveau attendu d’exposition à l’amiante et les méthodes pour le contrôler et le réduire.
Démolition à distance à l’aide d’explosifs
Le dynamitage est plus difficile à contrôler (en termes de propagation de la contamination) et ne constitue donc qu’un dernier recours pour la démolition de structures dangereuses. L’utilisation d’explosifs pour la démolition de bâtiments est néanmoins en constante augmentation.
Cette méthode présente l’avantage qu’aucun personnel ne se trouve dans le bâtiment au moment de la détonation des explosifs. Cependant, de grandes quantités de poussière sont générées, de sorte que tous les matériaux contenant de l’amiante doivent être retirés au préalable, sauf si l’évaluation des risques indique que certains matériaux doivent rester en place.
Pour les structures endommagées par le feu, toutes les techniques ci-dessus peuvent être utilisées.
Tous les travaux de désamiantage dans le cadre d’un projet de démolition doivent être traités comme des travaux à faible risque ou à signaler, en fonction des résultats de l’évaluation des risques, et les précautions appropriées doivent être appliquées. Les travaux de démolition ne sont en aucun cas moins exigeants que les autres travaux de désamiantage.
Dans certains cas, la démolition d’un bâtiment implique l’enlèvement d’appareillages électriques, de transformateurs, etc. En raison de la valeur des matériaux de rebut, ces pièces d’équipement doivent être retirées intactes et transportées vers un autre endroit pour un traitement ultérieur. Les composants des appareils de commutation électrique peuvent contenir de l’amiante. Par conséquent, les personnes impliquées dans le démantèlement de cet équipement doivent être conscientes de la présence possible de matériaux contenant de l’amiante, être capables de les reconnaître et utiliser les meilleures pratiques pour minimiser l’exposition à la poussière d’amiante.
Si vous employez des personnes pour des travaux de démolition où des matériaux contenant de l’amiante peuvent être présents, vous devez vous assurer que :
Si vous travaillez sur un chantier de démolition où des matériaux contenant de l’amiante sont présents, vous devez.. :
Si vous êtes un inspecteur du travail, vous devez :
aient été informé des risques liés à l’amiante et les avoir compris
aient été formés aux matériaux contenant de l’amiante et à leur détection
Les difficultés à protéger adéquatement les travailleurs contre le risque d’exposition à l’amiante peuvent augmenter si les conditions de travail sont compliquées par d’autres facteurs, tels que des températures extrêmes. Des températures élevées peuvent se produire lorsque vous travaillez sur des équipements chauds ou dans des enceintes chauffées par la lumière directe du soleil. Les basses températures se produisent dans les zones non chauffées par temps froid ou dans les climats froids.
En outre, l’utilisation de combinaisons étanches ou non perméables peut également réduire la production de chaleur du corps. Cela peut entraîner des maladies liées à la surchauffe lors de travaux pénibles, même dans des climats relativement tempérés. Si une atmosphère humide est créée par l’utilisation d’eau pour l’ablation humide, cela peut limiter la dissipation normale de la chaleur du corps par la transpiration. Les conditions environnementales chaudes peuvent inciter les travailleurs à enlever leurs vêtements, ce qui réduit l’efficacité de la protection contre la contamination par l’amiante.
Les combinaisons jetables utilisées pour le désamiantage offrent une protection relativement faible contre le froid. Une chaleur métabolique considérable peut être générée pendant le travail physiquement exigeant de l’enlèvement des matériaux contenant de l’amiante. En revanche, les opérations de nettoyage moins exigeantes physiquement finissent par générer peu de chaleur métabolique, ce qui signifie que les problèmes liés au froid sont primordiaux.
La condition physique d’un travailleur peut affecter sa capacité à travailler en toute sécurité dans ces environnements.
La capacité des travailleurs à porter et à utiliser un équipement de protection respiratoire peut être affectée par des changements dans les facteurs personnels. Par exemple, une barbe ou une perte de poids peut affecter l’ajustement facial du respirateur.
Dans le cas d’une travailleuse enceinte, il est également important de tenir compte de la façon dont la grossesse affectera les questions particulières liées à l’exécution de travaux sur l’amiante : l’ajustement facial de l’équipement respiratoire et l’aptitude physique à faire face à ces températures extrêmes.
Les troubles musculo-squelettiques sont la cause la plus fréquente de congé de maladie au travail dans l’UE. La manutention de charges lourdes est souvent à l’origine de maux de dos liés au travail. Le respect des dispositions de la directive CE sur la manutention manuelle de charges (90/269/CEE) devrait contribuer à minimiser ces risques lors de l’exécution de travaux liés à l’amiante. Travailler dans des positions inconfortables (par exemple, se pencher ou se tordre) peut provoquer des douleurs dorsales et constitue un problème majeur lorsqu’on travaille dans des environnements froids.
Trois facteurs – la force, la position et la répétition – peuvent entraîner une gêne et des blessures au niveau des membres supérieurs. Le risque à cet égard est accru, entre autres, par des outils inadaptés, un travail répétitif avec flexion et extension des poignets et un travail excessif avec les bras levés.
Une gêne ou des problèmes musculo-squelettiques peuvent être dus au fait qu’un travailleur ne fixe pas correctement son équipement respiratoire sur son visage.
Les effets néfastes sur la santé du travail dans des conditions environnementales chaudes peuvent inclure :
Les mesures à prendre pour réduire les risques liés aux conditions environnementales chaudes sont les suivantes :
Deux normes européennes (EN 27243 et EN ISO 7933) peuvent aider à réaliser une évaluation des risques pour les effets des conditions environnementales chaudes. La norme EN 27243 est plus facile à appliquer, mais elle ne comporte pas de disposition concernant les vêtements, les équipements de protection individuelle ou les équipements respiratoires. La norme EN ISO 7933 inclut les effets de la couverture de la peau, mais pas les effets de la perméabilité des vêtements. La norme britannique BS 7963 donne des indications sur les ajustements nécessaires pour tenir compte des effets des équipements de protection individuelle sur l’équilibre thermique.
Pour le travail dans des environnements froids, la norme ISO/TR 11079 fournit des conseils sur l’isolation thermique requise pour les vêtements et la norme ISO 9920 fournit une estimation des caractéristiques de température des vêtements. Les travaux à déclarer sur des matériaux contenant de l’amiante dans des conditions environnementales froides peuvent nécessiter la fourniture de sous-vêtements jetables à porter sous la combinaison jetable ou la combinaison lavable.
L’exposition à des températures froides sans protection adéquate peut entraîner une hypothermie. L’hypothermie est la chute de la température corporelle centrale à un niveau tel que les fonctions musculaires et cérébrales sont altérées. L’hypothermie légère (température corporelle centrale comprise entre 37 °C et 35 °C) provoque de légers frissons qui ne sont pas contrôlés par soi-même, qui gênent les mouvements complexes (mais pas la marche ni la parole) et qui réduisent le flux sanguin à la surface du corps (provoquant une vasoconstriction). Hypothermie modérée (température corporelle centrale comprise entre 35 °C et 34 °C) provoque une somnolence, une perte de la motricité fine (surtout au niveau des mains), des troubles de l’élocution, un comportement irrationnel et une attitude indifférente. Ces symptômes peuvent également contribuer à une mauvaise utilisation des outils ou des équipements de protection, ce qui augmente le risque d’exposition lors du travail avec l’amiante.
Une hypothermie sévère peut rapidement entraîner la mort.
Si vous employez des personnes dont le travail peut impliquer une exposition à l’amiante dans les conditions décrites dans ce chapitre, vous devez :
Introduire des systèmes efficaces pour produire des températures acceptables sur le lieu de travail, tels que:
Si votre travail implique une exposition possible à l’amiante et des conditions de travail physiquement exigeantes (en raison de la température ou de l’effort physique requis dans le travail), vous devez :
Si vous êtes un inspecteur du travail, vous devriez :
La directive concernant la protection des travailleurs contre l’amiante (83/477/CEE, modifiée en dernier lieu par la directive 2003/18/CE) exige, à l’article 6, que » l’exposition des travailleurs à la poussière provenant de l’amiante ou de matériaux contenant de l’amiante sur le lieu de travail soit réduite au minimum, notamment par les mesures suivantes » (concernant le transport et l’élimination des déchets) :
Selon la directive-cadre sur les déchets, les États membres de l’Union européenne doivent soutenir la prévention ou la réduction des déchets et des dangers qui en résultent en favorisant le développement de technologies propres, l’amélioration technique des produits et les nouvelles technologies d’élimination. En outre, ils doivent interdire l’élimination incontrôlée. Un réseau adéquat d’installations d’élimination doit être établi en coopération avec les autres États membres. Il faut utiliser la meilleure technologie disponible, qui ne doit pas non plus entraîner de coûts excessifs.
Les déchets contenant de l’amiante emballés doivent être étiquetés comme déchets contenant de l’amiante conformément à la directive européenne 1983/478/CEE du 19 septembre 1983.
Une fois que les déchets emballés ont été collectés dans des installations de stockage sécurisées (par exemple, des conteneurs verrouillables) sur le site de construction, ils doivent être transportés en toute sécurité vers un site d’élimination des déchets autorisé. Le transport doit être conforme aux réglementations nationales sur le transport des marchandises dangereuses. Il peut s’agir d’exigences relatives à l’arrimage du chargement, au marquage du véhicule, à un accord écrit préalable avec le site d’élimination des déchets agréé, à des procédures d’urgence pour faire face à des déversements (par exemple, déchets emballés à l’intérieur du conteneur), à la formation du conducteur et d’une personne ayant une expertise pertinente en matière de transport de marchandises dangereuses.
Dans l’UE, l’amiante est actuellement éliminé dans des décharges ou des usines de vitrification. Dans certains États membres de l’Union européenne, les fosses de génie civil peuvent être utilisées pour l’élimination des déchets d’amiante.
Décharges/fosses contrôlées
Dans ces installations d’élimination, l’amiante est enterré. Les registres tenus par l’installation d’élimination permettent de retracer le matériau depuis sa source jusqu’à sa position dans l’installation. Dans certains États membres, par exemple, les déchets sont scellés avec du béton.
Une évaluation des risques d’exposition potentielle des travailleurs de l’installation impliqués dans le transport ou la mise en place des déchets ensachés doit être réalisée et régulièrement vérifiée par un échantillonnage personnel. Les travailleurs sont protégés contre le risque d’exposition (par exemple, en raison de l’endommagement des déchets ensachés ou emballés pendant le transport ou le stockage) en prenant des mesures de protection appropriées (par exemple, fourniture de filtres à particules à haute efficacité pour la climatisation de la cabine du véhicule et utilisation d’un équipement respiratoire approprié, de vêtements de protection et d’installations de changement ou de décontamination approuvées pour une utilisation avec de l’amiante).
Vitrage
La vitrification est effectuée dans une usine où les déchets d’amiante sont traités à haute température et transformés par changement chimique en un produit final vitrifié et inerte qui peut être utilisé comme agrégat pour la construction de routes ou d’autres applications appropriées. Ce processus est considéré comme un moyen efficace d’éliminer le risque d’exposition à l’amiante du produit final. Cependant, la vitrification nécessite beaucoup plus d’énergie que les autres processus.
La directive 84/631/CEE exige l’utilisation d’un bordereau d’expédition détaillé indiquant en détail la source et la composition des déchets, l’itinéraire de transport, les mesures prises pour assurer la sécurité du transport et l’existence d’un accord formel avec le destinataire des déchets.
Si vous employez des personnes dont le travail implique l’élimination de déchets contenant de l’amiante, vous devez.. :
Si votre travail implique la manipulation de déchets contenant de l’amiante, vous devez :
Si vous êtes un inspecteur du travail, vous devez :
Ce chapitre décrit la surveillance et la mesure des concentrations dans l’air, qui doivent être effectuées par une personne compétente ou une entreprise spécialisée. Les explications sont destinées à
Dans l’échantillonnage de l’air ambiant, un volume d’air mesuré passe à travers un filtre qui élimine les fibres en suspension dans l’air. Le filtre est ensuite examiné au microscope pour déterminer le nombre de fibres. Ainsi, la concentration de fibres dans l’air peut être déterminée.
La directive européenne concernant la protection des travailleurs contre les risques liés à l’exposition à l’amiante (83/477/CEE, complétée en dernier lieu par la directive 2003/18/CE) stipule que l’échantillonnage doit être effectué par du personnel dûment qualifié et que les échantillons doivent être analysés dans des laboratoires équipés pour le comptage des fibres. Il précise en outre que le filtre doit ensuite être analysé selon une méthode publiée par l’Organisation mondiale de la santé (1997), c’est-à-dire en comptant les fibres sous un microscope à lumière à contraste de phase ou par une autre méthode donnant des résultats équivalents. La méthode du microscope à lumière à contraste de phase est utilisée dans la plupart des États membres de l’UE.
D’autres types de microscopes peuvent également être utilisés pour l’analyse des filtres. Les microscopes électroniques offrent un grossissement plus élevé (c’est-à-dire qu’il est possible de détecter davantage de fibres de très petits diamètres qui ne seraient pas visibles au microscope optique) et ils peuvent distinguer les fibres d’amiante des autres fibres (par exemple les fibres organiques ou les fibres synthétiques). Par conséquent, les comptages effectués à partir de différents types de microscopes peuvent également donner des estimations différentes de la concentration. Il existe deux types de microscopes électroniques : le microscope électronique à balayage et le microscope électronique à transmission.
Chaque méthode de microscopie présente des avantages particuliers. Un microscope optique peut toujours être transporté prêt à l’emploi et peut être utilisé sur place afin de pouvoir ezielen les résultats rapidement. Ceci est particulièrement avantageux lorsque les résultats sont nécessaires immédiatement, par exemple pour vérifier l’étanchéité de l’enceinte. Toutefois, les microscopes à lumière à contraste de phase présentent l’inconvénient de compter toutes les fibres, y compris les fibres non amiantées, et donc de déterminer la concentration de toutes les fibres (et pas seulement des fibres d’amiante).
Les microscopes électroniques offrent un grossissement plus élevé et une meilleure résolution ; ils permettent donc de détecter des fibres plus fines qui ne sont pas visibles au microscope optique à contraste de phase. Les concentrations mesurées par un microscope électronique peuvent donc être plus élevées que celles mesurées par un microscope optique.
Le microscope électronique à balayage permet de distinguer les fibres d’amiante des fibres non amiantées en déterminant la composition chimique des fibres. Cela peut aider à détecter des concentrations plus faibles après la fin des travaux de désamiantage si d’autres types de fibres (par exemple, des fibres organiques) sont également présents dans l’air.
Le microscope électronique à transmission permet de déterminer le type d’amiante dont est constituée une fibre (amosite, crocidolite, chrysotile, etc.) en déterminant la composition chimique et la structure cristalline de la fibre. Le microscope électronique à transmission a le plus fort grossissement pour observer les plus petites fibres. Toutefois, cette méthode d’analyse est la plus coûteuse et la plus longue. Elle implique également une technique difficile et longue pour préparer l’échantillon.
Dans un État membre de l’Union européenne, il est nécessaire de faire effectuer des mesures avec un microscope électronique à transmission pour confirmer que les concentrations sont inférieures à 0,005 fibre/cm3. Ceci est fait dans le cadre des tests pour confirmer qu’un bâtiment peut être réoccupé (INRS ED815). Un autre État membre exige des mesures avec un microscope électronique à balayage. Plusieurs États membres utilisent des mesures avec un microscope à lumière à contraste de phase (par exemple pour confirmer que les concentrations sont inférieures à 0,01 fibre/cm3) dans le cadre des tests confirmant la réussite des travaux de désamiantage.
L’échantillonnage stationnaire de l’air peut être utilisé pour déterminer la concentration ambiante de fibres lorsqu’il n’y a pas d’exposition active à l’amiante, par exemple avant le début des travaux. Cette méthode est également utilisée pour la manipulation des matériaux contenant de l’amiante qui restent sur le site.
La surveillance individuelle mesure la concentration de fibres dans la zone de respiration des travailleurs. Cette mesure permet de vérifier si le facteur de protection de l’équipement de protection respiratoire individuel est adéquat.
La directive européenne concernant la protection des travailleurs contre les risques liés à une exposition à l’amiante (83/477/CEE, complétée en dernier lieu par la directive 2003/18/CE), stipule que :
» L’employeur tient un registre des travailleurs exerçant les activités (visées au point 6.3, qui doivent être notifiées), indiquant la nature et la durée de leurs activités ainsi que les dangers auxquels ils ont été exposés « . Chaque travailleur a accès aux informations le concernant contenues dans ce registre. Les travailleurs et/ou leurs représentants dans l’entreprise ou l’établissement doivent pouvoir consulter les informations générales non personnelles contenues dans ce registre.
Les registres visés au point 1 et les dossiers médicaux personnels visés à l’article 15, paragraphe 1 (voir chapitre 19) sont conservés après la fin de l’exposition, conformément aux dispositions nationales.
être conservées pendant au moins 40 ans après la fin de l’exposition, conformément à la législation et/ou aux pratiques nationales.
Les registres visés au point 2 sont, conformément à la législation et/ou à la pratique nationales, mis à la disposition de l’autorité compétente lors de la fermeture de l’entreprise ou de l’établissement.
Un contrôle régulier peut également permettre d’identifier les travailleurs dont les méthodes de travail sont à l’origine de concentrations inhabituelles de fibres d’amiante et ainsi contribuer à identifier les zones où les méthodes de travail doivent être améliorées.
Parfois, des échantillons sont également prélevés dans la zone de travail générale. Ces échantillons, ainsi que la surveillance personnelle, permettent de déterminer la concentration de fibres d’amiante dans l’air où se déroulent les travaux.
La surveillance de l’environnement de travail doit inclure la mesure de la concentration de fibres d’amiante en suspension dans l’air dans les zones où il existe une possibilité d’exposition des travailleurs s’ils ne portent pas d’équipement de protection respiratoire individuel. Un État membre de l’Union européenne fixe la mesure à deux fois par semaine dans le service où les travailleurs retirent leurs appareils respiratoires (INRS ED815).
Le contrôle des fuites peut être effectué pendant les travaux sur l’amiante si une enceinte est en place. Il s’agit d’une mesure secondaire à l’inspection visuelle et aux tests de fumée sur l’enceinte. Ce test est utilisé lorsque l’on suspecte des points faibles sur le boîtier ou lorsque des zones « sensibles » (par exemple des zones utilisées) sont présentes à proximité. La surveillance permet de détecter des concentrations élevées de fibres qui pourraient être liées à un rejet de l’enceinte. Les tests de fond avant le début des travaux sont utiles car ils permettent de déterminer si une mesure de test de fuite reflète un rejet ou simplement une concentration de fond.
La vérification des fuites peut être particulièrement nécessaire si des éléments tels que des câbles, des tuyaux, des colonnes montantes traversent l’enceinte. La planification doit prévoir une zone tampon entre les personnes impliquées dans les travaux sur l’amiante et les autres personnes présentes dans le bâtiment. Le contrôle des fuites doit être effectué dans cette zone tampon.
Le contrôle des fuites doit être effectué plus fréquemment aux moments « à haut risque » du travail (par exemple, au début, aux moments où l’exposition à l’amiante est la plus forte, et aux moments d’exposition aux points faibles de l’enceinte). Si une surveillance suffisante confirme l’existence d’une enceinte scellée et conduite, ces tests peuvent être réduits en conséquence ou carrément abandonnés.
Le contrôle de la propreté est effectué conjointement avec une évaluation visuelle de la propreté et de l’intégrité du système de confinement. Les réglementations et pratiques nationales peuvent exiger un contrôle de la propreté après l’élimination de l’amiante, avant que le site ne soit libéré pour une utilisation normale, une démolition ou un assainissement.
Les laboratoires certifiés ISO/IEC 17025 ont mis en place les systèmes de qualité requis. Les laboratoires doivent également participer à un programme d’essais d’aptitude externe.
pour le test des fibres (par exemple, les systèmes nationaux du Royaume-Uni (RICE), de l’Espagne (PICC-FA), de la Belgique et de la France) ou dans un système international (comme AFRICA).
Si vous employez ou supervisez des personnes qui enlèvent l’amiante, vous devez :
Si vous effectuez des travaux pour retirer l’amiante, vous devez :
coopérer avec votre employeur et l’organisme de contrôle choisi en portant un dispositif de prélèvement personnel et en veillant à ce que son fonctionnement ne soit pas entravé, et maintenir vos pratiques de travail habituelles pendant la période de prélèvement ;
fournir des informations précises sur votre travail et vos méthodes pendant la période d’échantillonnage personnel ;
aider l’organisme de contrôle à identifier les points faibles de l’enceinte lors des tests d’étanchéité ;
aider l’organisme de contrôle à effectuer une inspection visuelle approfondie de l’enceinte dans le cadre du contrôle de l’amiante, B. utilisation d’équipements auxiliaires, etc.
Ne déplacez pas, ne réglez pas et ne manipulez pas l’équipement de surveillance de l’air ;
suivez les instructions de votre employeur/superviseur du site et prenez des mesures correctives immédiates si l’organisme de surveillance détecte une concentration élevée de fibres dans ou autour de la zone de travail.
Si vous êtes un inspecteur du travail, vous devez :
La directive européenne concernant la protection des travailleurs contre les risques liés à une exposition à l’amiante (83/477/CEE, complétée par la directive 2003/18/CE) exige que :
La plupart des chapitres de ce guide sont destinés aux personnes dont le travail comporte ou peut comporter un risque d’exposition à l’amiante. Cependant, d’autres personnes importantes sont impliquées dans le processus. Il s’agit notamment de :
Pour le client qui recherche un entrepreneur, il est important d’examiner les normes techniques des offres des entrepreneurs afin de prévenir les risques suivants :
Les perturbations causées par l’encapsulation ou le retrait de l’amiante sont très importantes. Il est donc important que la zone soit inspectée en profondeur afin que tous les matériaux contenant de l’amiante puissent être traités en même temps.
Lors de la planification des travaux relatifs à l’amiante, il faut également tenir compte des services et des activités des personnes impliquées dans la construction du bâtiment et dans l’entretien des bâtiments (architectes, ingénieurs civils, gestionnaires d’installations), car ils peuvent devoir être modifiés ou fournis à nouveau :
Si une partie ou la totalité des matériaux contenant de l’amiante sont laissés sur place (soit en bon état d’origine, soit encapsulés, imprégnés ou enfermés), alors :
– les matériaux laissés en place doivent être inspectés régulièrement, mais au moins une fois par an (fréquence à déterminer par l’évaluation des risques), pour s’assurer qu’ils sont toujours en bon état ; les inspections doivent être documentées.
– la présence de ce matériau doit être prise en compte dans tous les travaux de transformation ou d’installation futurs qui pourraient l’affecter. Cela inclut un système de gestion afin que le matériau soit toujours pris en compte lorsqu’un entrepreneur ou un travailleur entreprend des travaux qui affectent la structure du bâtiment.
– un système de rapport doit être établi afin que tout dommage accidentel au matériel soit enregistré.
Après l’enlèvement des matériaux, l’achèvement des travaux doit être confirmé par des tests de dégagement effectués par un organisme indépendant. Cela comprend une inspection visuelle et un échantillonnage de l’air par une personne indépendante pour déterminer la concentration de fibres dans l’air. Dans la plupart des États membres de l’Union européenne, les échantillons d’air sont examinés à l’aide d’un microscope à contraste de phase et la concentration doit être inférieure à 0,01 fibre/cm3 pour que la référence soit établie (voir la description des procédures au chapitre 16).
En outre, un État membre exige qu’après l’élimination de l’amiante faiblement lié, le client prenne des dispositions pour effectuer un nouveau test de l’air afin de mesurer la concentration de fibres d’amiante. Dans cet État membre, les conditions sont satisfaisantes lorsque la concentration mesurée de fibres d’amiante est inférieure à 0,005 fibre/cm3 dans un échantillon examiné au microscope électronique à transmission.
Si vous employez ou supervisez des personnes qui participent d’une manière ou d’une autre à des travaux sur des matériaux contenant de l’amiante, vous devez.. :
Si vous effectuez des travaux impliquant de l’amiante, vous devez :
Si vous êtes un inspecteur du travail, vous devez :
Les matériaux contenant de l’amiante ont été utilisés dans un large éventail d’applications et de lieux (comme décrit au chapitre 4). Par conséquent, des considérations supplémentaires sont nécessaires dans certaines situations. Cependant, l’approche générale s’applique toujours, à savoir : Évaluation des risques et plan de travail écrit (chapitre 5), décider de ce qu’il faut faire et si le travail doit être signalé (chapitre 6), formation adéquate (chapitre 7), et contenir et prévenir l’exposition à l’amiante (chapitres 9 et 11 ou 12).
Les autres utilisations de l’amiante qui peuvent nécessiter des mesures spéciales sont les suivantes :
Les mêmes procédures s’appliquent quels que soient les travaux relatifs à l’amiante :
Voici quelques-uns des problèmes rencontrés dans certains des travaux susmentionnés :
L’amiante a été utilisé dans les revêtements décoratifs des plafonds et des murs dans certains États membres de l’Union européenne. Des évaluations récentes des risques liés au travail dans ces cas suggèrent que, à condition que des techniques appropriées soient utilisées pour minimiser l’exposition à l’amiante
Si vous employez des personnes qui sont exposées à l’amiante dans leur travail, vous devez.. :
Si votre travail implique une exposition potentielle à l’amiante, vous devez avoir reçu une formation appropriée afin de pouvoir.. :
Si vous êtes un inspecteur du travail, vous devriez :




Fig. 18.2 Composants contenant de l’amiante dans les appareillages de commutation à haute tension
La directive européenne concernant la protection des travailleurs contre les risques liés à l’exposition à l’amiante (83/477/CEE, complétée en dernier lieu par la directive 2003/18/CE) stipule à l’article 15 pour les travailleurs effectuant des travaux soumis à déclaration (tels que déterminés à la section 6.3) :
« Avant qu’un travailleur ne soit exposé pour la première fois à la poussière provenant de l’amiante ou de matériaux contenant de l’amiante, il doit avoir la possibilité de subir un examen de santé. Ce bilan de santé doit comprendre un examen spécial de la poitrine. »
« Ces contrôles de santé doivent être disponibles au moins une fois tous les trois ans pendant la période d’exposition.
Un dossier médical personnel est tenu pour chaque travailleur conformément à la législation et aux pratiques nationales, comme indiqué au premier paragraphe. »
Le contrôle de santé comprend la visite d’un spécialiste (généralement désigné conformément à la législation nationale) ayant une connaissance des caractéristiques médicales du travail de l’amiante.
Certaines conditions médicales sont des signes que le travailleur n’est pas suffisamment en forme pour travailler en toute sécurité dans les conditions présentes lors d’un travail sur l’amiante. Il s’agit en particulier de maladies qui peuvent affecter soudainement l’aptitude à travailler dans l’enceinte avec un équipement de protection respiratoire. Les affections respiratoires ou cardio-pulmonaires peuvent également affecter l’aptitude à effectuer des travaux pénibles lors du port d’un équipement de protection respiratoire et dans des conditions ambiantes chaudes.
Dans certains États membres de l’Union européenne (par exemple, le Royaume-Uni), le certificat d’examen relatif à l’amiante confirme uniquement que l’examen a été effectué. Si l’évaluation des risques identifie des risques tels que des travaux pénibles et des conditions environnementales chaudes, l’employeur doit également proposer un « examen d’aptitude au travail » en plus du contrôle de santé lié à l’amiante.
Le bilan de santé peut comprendre une radiographie du thorax. Cela se fait soit par un examen radiographique classique, soit par tomographie assistée par ordinateur (TAO). La tomographie assistée par ordinateur obtient des données radiologiques sous différents angles autour du corps, puis utilise des calculs informatiques pour produire des images en coupe du corps. Les examens radiologiques conventionnels entraînent une exposition aux rayonnements équivalente à 10 fois le rayonnement de fond quotidien normal (rayonnement cosmique et matières radioactives naturelles). Le CT entraîne une exposition aux rayonnements plus importante que les examens radiologiques classiques et correspond approximativement à l’exposition naturelle aux rayonnements sur 3 ans (voir par exemple http://www.radiologyinfo.org/content/safety/xray_safety.htm#measuring_dosage). Il faut éviter toute exposition inutile aux radiations. Le médecin tiendra compte de l’intérêt du patient pour décider de l’utilité d’un tel examen et du moment où il sera effectué.
La directive européenne 83/477/CEE, complétée en dernier lieu par la directive 2003/18/CE, stipule que « des informations et des conseils sont donnés aux travailleurs concernant la surveillance de la santé qu’ils peuvent subir à la fin de l’exposition. »
En résumé, l’examen médical permet de s’assurer que le travailleur est apte au travail sans compromettre l’efficacité des mesures destinées à le protéger contre le risque d’exposition à l’amiante. Les maladies liées à l’amiante surviennent souvent de nombreuses années après l’exposition ; ce n’est qu’à ce moment-là que les signes d’une maladie liée à l’amiante peuvent être détectés lors du bilan de santé et que le patient peut être informé de manière appropriée.
Si vous employez ou supervisez des personnes dont le travail peut impliquer une exposition à l’amiante, vous devez.. :
Si vous êtes susceptible d’être régulièrement exposé à l’amiante dans le cadre de votre travail, vous devez.. :
Vous pouvez décider si des données non médicales seront recueillies auprès de vous pour des études épidémiologiques. Nous vous recommandons de faire collecter ces données, car c’est un moyen de vérifier l’efficacité des programmes de protection de la santé.
Si vous êtes un inspecteur du travail, vous devez :
Asunción Calleja , Santos Hernández, Exposición al amianto en operaciones de retirada y demolición Guía de prevención. Centre de Seguretat i Condicions de Salut, en el Treball. Generalitat de Catalunya, Barcelona. Departamento de Salud Laboral de CC.OO. Realización Paralelo Edición, s.a. ISBN 84-87851-62-2 Depósito Legal M-18824-2002
Council Directive of 19 September 1983 on the protection of workers from the risks related to exposure to asbestos at work (second individual Directive within the meaning of Article 8 of Directive 80/1107/EEC) [Richtlinie des Rates vom 19. September 1983 über den Schutz der Arbeitnehmer gegen Gefährdung durch Asbest am Arbeitsplatz (Zweite Einzelrichtlinie im Sinne des Artikels 8 der Richtlinie 80/1107/EWG)] (83/477/EWG) (OJ L 263, 24.9.1983, p. 25), mit Ergänzung durch Richtlinie 2003/18/EG der Europäischen Parlaments und des Rates vom 27. März 2003 L 97 48 15.4.2003. http://europa.eu.int/eur-lex/en/consleg/pdf/1983/en_1983L0477_do_001.pdf
Und für die französische und deutsche Version:
http://europa.eu.int/eur-lex/fr/consleg/pdf/1983/fr_1983L0477_do_001.pdf http://europa.eu.int/eur-lex/de/consleg/pdf/1983/de_1983L0477_do_001.pdf
COMMISSION DIRECTIVE 1999/77/EC of 26 July 1999 adapting to technical progress for the sixth time Annex I to Council Directive 76/769/EEC on the approximation of the laws, regulations and administrative provisions of the Member States relating to restrictions on the marketing and use of certain dangerous substances and preparations (asbestos). [RICHTLINIE DES RATES 1999/77/EG vom 26. Juli 1999 zur sechsten Anpassung an den technischen Fortschritt von Anhang I der Richtlinie des Rates 76/769/EWG zur Angleichung der Rechts- und Verwaltungsvorschriften der Mitgliedstaaten für Beschränkungen des Inverkehrbringens und der Verwendung gewisser gefährlicher Stoffe und Zubereitungen] http://www.legaltext.ee/text/en/PH0638.htm
Council Directive 92/57/EEC of 24 June 1992 on the implementation of minimum safety and health requirements at temporary or mobile construction sites (eighth individual Directive within the meaning of Article 16 (1) of Directive 89/391/EEC). [Richtlinie 92/57/EWG des Rates vom 24. Juni 1992 über die auf zeitlich begrenzte oder ortsveränderliche Baustellen anzuwendenden Mindestvorschriften für die Sicherheit und den Gesundheitsschutz (Achte Einzelrichtlinie im Sinne des Artikels 16 (1) der Richtlinie 89/391/EWG] Official Journal L 245 , 26/08/1992 P. 0006 – 0022. Finnische Spezialausgabe: Kapitel 5 Band 5 P. 0165. Schwedische Spezialausgabe: Kapiel 5 Band 5 P.0165
Corrigendum to Council Directive 92/57/EEC of 24 June 1992 on the implementation of minimum safety and health requirements at temporary or mobile construction sites (eighth individual Directive within the meaning of Article 16 (1) of Directive 89/391/EEC) [Corrigendum zur Richtlinie 92/57/EWG des Rates vom 24. Juni 1992 über die auf zeitlich begrenzte oder ortsveränderliche Baustellen anzuwendenden Mindestvorschriften für die Sicherheit und den Gesundheitsschutz (Achte Einzelrichtlinie im Sinne des Artikels 16 (1) der Richtlinie 89/391/EWG] (OJ Nr. L 245 vom 26. 8. 1992). Official Journal L 015 , 23/01/1993 P. 0034 – 0035
Albracht G Schwerdtfeger A. Herausforderung Asbest. Universum Verlagsanstalt.
Bard D, Boyle T, Burdett G. Final report on the development of practical guidelines for the training of asbestos removal workers. Report for DGV under agreement number VG/1999/5190. Health and Safety Laboratory (jetzt Buxton, UK).
British Standards Institution. PAS 60 Part 1 Equipment used in the controlled removal of asbestos-containing materials – Part 1: controlled wetting of asbestos–containing materials – Specification. Verfügbar unter BSI Kundenservice +44 (0)208 996 9001. www.bsi- global.com
British Standards Institution. PAS 60 Part 2 Equipment used in the controlled removal of asbestos-containing materials – Part 2: Negative Pressure Units – Specification. Verfügbar unter BSI Kundenservice +44 (0)208 996 9001. www.bsi-global.com
British Standards Institution. PAS 60 Part 3 Equipment used in the controlled removal of asbestos-containing materials – Part 3: Operation, cleaning and maintenance of class H vacuum cleaners – Code of practice. Verfügbar unter BSI Kundenservice +44 (0)208 996 9001. www.bsi-global.com
Institut National de Recherche et de Securité (INRS). (1st edition 1997; edition of April 2005.) Exposition à l’amiante dans les travaux d’entretien et de maintenance; Guide de Prevention. ED 809. www.inrs.fr
Institut National de Recherche et de Securité (INRS). Travaux de retraite ou de confinement d’amiante ou de materiaux en contenant. Guide de Prevention. ED 815. www.inrs.fr
Institut National de Recherche et de Securité (INRS). Diagnostic et traitment des flocages à base d’amiante. Guide Methodologique. ED 734. www.inrs.fr
NÅR DU STØDER PÅ ASBEST. (Wenn Sie auf Asbest treffen). Branche ArbejdsmiljøRådet; for Bygge & Anlæg, Ramsingsvej 7,2500 Valby; e-mail sekr@bar-ba.dk. www.bar-ba.dk
UK Actuaries (2004). UK Asbestos – the definitive guide. http://www.actuaries.org.uk/files/pdf/proceedings/giro2004/Lowe.pdf
UK Health and Safety Executive Surveying, sampling and assessment of asbestos containing materials. MDHS 100 http://www.hse.gov.uk/pubns/mdhs/pdfs/mdhs100.pdf
UK Health and Safety Executive. (2001) Asbestos essentials task manual: task guidance sheets for the building maintenance and allied trades. HSG210. HSE Books ISBN 0 7176 1887 0
UK Health and Safety Executive. (2001) Introduction to asbestos essentials: comprehensive guidance on working with asbestos in the building maintenance and allied trades. HSG213. HSE Books ISBN 0 7176 0901 X
UK Health and Safety Executive. (2004) Managing asbestos: your new legal duties. INDG223(rev3).
UK Health and Safety Executive. (2004) Asbestos alert for building maintenance, repair and refurbishment workers. INDG 18 ISBN 0 7176 1209
UK Health And Safety Executive (2003) 2/03 Method statement aide memoire. Herausgegeben durch die HSE Asbestos Licensing Unit. http://www.hse.gov.uk/aboutus/meetings/alg/policy/02-03.pdf
UK Health and Safety Executive. Controlled asbestos stripping techniques for work requiring a licence. HSG189/1. HSE Books.
UK Health and Safety Executive. The selection, use and maintenance of respiratory protective equipment -a practical guide HSG53. HSE Books ISBN 0 7176 1537 5
UK Health and Safety Executive. (1999) Selection of suitable respiratory protective equipment for work with asbestos, Kostenlos. HSE Broschüre INDG 288: http://www.hse.gov.uk/pubns/indg288.pdf
UK Health and Safety Executive HSE Information Sheet MISC614. Preventing falls from boom-type mobile elevating work platforms http://www.hse.gov.uk/pubns/misc614.pdf
UK Health and Safety Executive (2002) A comprehensive guide to managing asbestos in premises HSG227 HSE Books 2002 ISBN 0 7176 2381 5
Virta, RL., “Worldwide Asbestos Supply and Consumption Trends from 1900 to 2000”, U.S Department of the Interior US. Geological Survey (2003) http://pubs.usgs.gov/of/2003/of03- 083/of03-083.pdf
World Health Organisation (1997 Determination of airborne fibre concentrations. A recommended method, by phase-contrast optical microscopy (membrane filter method), WHO, Genua 1997 (ISBN 92 4 154496 1).
Zieschang H, Seifert M, Brückner B Au M. (1993) Proceedings of the European Asbestos Conference 2003. 03.-06.09.2003 at the BG Akadamie Dresden. ISBN 3-00-013020-9.
Les expositions typiques pendant le travail avec des panneaux en amiante, des revêtements en amiante et des panneaux isolants en amiante (UK Health and Safety Executive 1999, HSG 189/1 ; UK HSE (2003) INDG 288(rev1)) et l’amiante-ciment UK HSE HSG 189/2). Voir les notes au bas de la page.


Notes :
Expositions typiques lors du travail avec l’amiante-ciment (UK HSE HSG 189/2). Voir les notes au bas du premier tableau de l’annexe 1.


Les concentrations d’exposition ci-dessus se rapportent à la période de travail et ne sont pas calculées comme des valeurs moyennes dans le temps. Pour des périodes de travail plus longues, des valeurs moyennes dans le temps dépassant 0,1 fibre/cm3 peuvent être atteintes.
D’autres données sur les expositions professionnelles à l’amiante sont disponibles en ligne dans la base de données Evalutil.
« Evalutil » est une base de données sur les expositions professionnelles à l’amiante et aux fibres minérales artificielles (FMA), accessible directement sur Internet. Il est conçu pour fournir des orientations aux personnes impliquées dans la santé publique et la prévention : Médecins spécialistes de la santé au travail, ingénieurs de la sécurité, membres du comité de sécurité au travail de l’entreprise, chercheurs et autres.
Evalutil est constitué de trois bases de données : deux bases factuelles, l’une sur les fibres d’amiante et l’autre sur les CMF, et une matrice emplois-expositions (MEE) pour l’amiante uniquement. Les données métrologiques et descriptives des bases de données factuelles proviennent de la littérature scientifique et des rapports techniques sur la prévention et les institutions. Le JEM amiante fournit des informations sur les expositions à l’amiante évaluées par des experts pour un grand nombre de travaux. Cependant, dans son état actuel, une requête ne génère pas de lien entre les informations disponibles.
Bien que les informations fournies par la base documentaire concernent des situations spécifiques, elles fournissent néanmoins des indications très utiles sur les risques liés à certaines situations de travail. Toutefois, ces informations ne peuvent remplacer une analyse minutieuse et une évaluation des risques de chaque situation par des experts, car certains relevés peuvent être associés à des travaux différents ou une zone de travail à des travaux différents.
La forme et le contenu d’Evalutil ont fait l’objet d’une révision et d’une amélioration constantes depuis 1992. Le développement d’Evalutil se poursuivra dans les années à venir avec des mises à jour des bases de données existantes et des améliorations de l’interface web pour faciliter une utilisation plus étendue. »
L’adresse internet de la base de données est : http://etudes.isped.u-bordeaux2.fr/evalutil.